2014 Cadillac CTS Engine Appearance Cover

Currently shopping for
2014 Cadillac CTS
Change Vehicle
Categories Close X

Currently selected

Other Categories

A/C & Heating
Air & Fuel Delivery
Belts & Cooling
Body & Hardware
Brakes
Charging & Starting
Driveline & Axles
Electrical
Emission Control & Exhaust
Headlights & Lighting
Interior & Exterior Trim
Maintenance & Lubrication
Steering
Suspension
Transmission
Categories Close X

Currently selected

Other Categories

A/C & Heating
Air & Fuel Delivery
Belts & Cooling
Body & Hardware
Brakes
Charging & Starting
Driveline & Axles
Electrical
Emission Control & Exhaust
Headlights & Lighting
Interior & Exterior Trim
Maintenance & Lubrication
Steering
Suspension
Transmission
6 diagrams found for the vehicle you selected.Select your vehicle options to narrow down results.
  • 1.Engine Appearance Cover (2.0L Turbocharger)
    2014 Cadillac CTS Engine Appearance Cover Diagram 1 - Thumbnail
  • 2.Engine Appearance Cover (2014-15)
    2014 Cadillac CTS Engine Appearance Cover Diagram 2 - Thumbnail
  • 3.Engine Appearance Cover (3.0,3.6L)
    2014 Cadillac CTS Engine Appearance Cover Diagram 3 - Thumbnail
  • 4.Engine Appearance Cover (3.6L Twin-Turbocharger)
    2014 Cadillac CTS Engine Appearance Cover Diagram 4 - Thumbnail
  • 5.Engine Appearance Cover (3.6L)
    2014 Cadillac CTS Engine Appearance Cover Diagram 5 - Thumbnail
  • 6.Engine Appearance Cover (6.2L,Coupe)
    2014 Cadillac CTS Engine Appearance Cover Diagram 6 - Thumbnail
Sort by:
Ref No.
Ref No.
Part No. & Part Description
Price & Qty.
Part No. &
Part Description
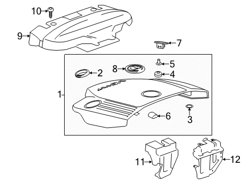
  • 1 Cadillac 19418410 Engine Cover
    19418410
    Engine Cover
    Cover Assembly, Intake Manifold
    • Part Notes: 2.0 Liter Turbo
    • Replaced By: 19436077
    MSRP: $184.65 Your Price: $112.09
    1
    Add To Cart
  • 1
    12622674
    Engine Cover
    Cover Assembly-Intake Manifold
    • Part Notes: Coupe, 6.2 Liter;Wagon, 6.2 Liter
    • Replaced By: 12740043
    MSRP: $170.60 Your Price: $103.56
    1
    Add To Cart
  • 1
    12632150
    Engine Cover
    Cover Assembly-Intake Manifold
    • Part Notes: 3.0, 3.6 Liter;3.6 Liter
    MSRP: $154.57 Your Price: $98.67
    1
    Add To Cart
  • 1 Cadillac 12657493 Engine Cover
    12657493
    Engine Cover
    Cover Assembly-Intake Manifold
    • Part Notes: 2014-15
    MSRP: $138.07 Your Price: $88.13
  • 1 Cadillac 12669219 Engine Cover
    12669219
    Engine Cover
    Cover Assembly-Intake Manifold
    • Part Notes: 3.6 Liter Twin-Turbo
    MSRP: $185.35 Your Price: $116.74
    1
    Add To Cart
  • 2
    12591714
    Engine Cover Grommet
    Grommet, Engine Fuel Intake Manifold
    • Part Notes: 2014-15;3.6 Liter Twin-Turbo
    MSRP: $6.62 Your Price: $4.22
  • 2
    12591715
    Engine Cover Grommet
    Grommet, Engine Fuel Intake Manifold
    • Part Notes: 3.0, 3.6 Liter;3.6 Liter;Coupe, 6.2 Liter, Inner;Wagon, 6.2 Liter, Inner
    Your Price: $13.11
  • 2 Cadillac 12600319 Engine Cover Grommet
    12600319
    Engine Cover Grommet
    Grommet, Engine Fuel Intake Manifold
    • Part Notes: 2.0 Liter Turbo
    MSRP: $7.49 Your Price: $4.78
    1
    Add To Cart
  • 3
    12594875
    Engine Cover Grommet
    Grommet-Upper Intake Manifold Sight Shield
    • Part Notes: Coupe, 6.2 Liter, Outer;Wagon, 6.2 Liter, Outer
    MSRP: $7.73 Your Price: $4.86
    1
    Add To Cart
  • 3
    10042521
    Engine Cover Retainer Nut
    Retainer, Radiator Support Mounting
    • Part Notes: 2.0 Liter Turbo;2014-15;3.0, 3.6 Liter;3.6 Liter;3.6 Liter Twin-Turbo
    MSRP: $9.85 Your Price: $6.28
    1
    Add To Cart
  • 4
    24507878
    Engine Cover Insulator
    Insulator, Manifold To Cylinder Head
    • Part Notes: 3.0, 3.6 Liter;3.6 Liter
    MSRP: $11.08 Your Price: $6.12
    1
    Add To Cart
  • 4
    12594875
    Engine Cover Insulator
    Grommet-Upper Intake Manifold Sight Shield
    • Part Notes: 3.6 Liter Twin-Turbo, #1
    MSRP: $7.73 Your Price: $4.86
    1
    Add To Cart
  • 4 Cadillac 12658199 Engine Cover Insulator
    12658199
    Engine Cover Insulator
    Grommet, Engine Fuel Intake Manifold
    • Part Notes: 2.0 Liter Turbo;2014-15
    • Replaced By: 12737359
    MSRP: $7.53 Your Price: $4.75
    1
    Add To Cart
  • 4
    10042521
    Engine Cover Nut
    Retainer, Radiator Support Mounting
    • Part Notes: Coupe, 6.2 Liter;Wagon, 6.2 Liter
    MSRP: $9.85 Your Price: $6.28
    1
    Add To Cart
  • 5 Cadillac 12658199 Engine Cover Insulator
    12658199
    Engine Cover Insulator
    Grommet, Engine Fuel Intake Manifold
    • Part Notes: 3.6 Liter Twin-Turbo, #2
    • Replaced By: 12737359
    MSRP: $7.53 Your Price: $4.75
    1
    Add To Cart
  • 5
    12591714
    Engine Cover Seal
    Grommet, Engine Fuel Intake Manifold
    • Part Notes: 3.0, 3.6 Liter
    MSRP: $6.62 Your Price: $4.22
  • 6
    24507878
    Engine Cover Cushion
    Insulator, Manifold To Cylinder Head
    • Part Notes: 2.0 Liter Turbo;2014-15
    MSRP: $11.08 Your Price: $6.12
    1
    Add To Cart
  • 6
    12626332
    Rear Insulator
    Cover Assembly-Intake Manifold
    • Part Notes: Coupe, 6.2 Liter;Wagon, 6.2 Liter
    MSRP: $73.70 Your Price: $46.43
    1
    Add To Cart
  • 7 Cadillac 12644708 Bracket
    12644708
    Bracket
    Bracket, Engine Fuel Intake Manifold
    • Part Notes: 2.0 Liter Turbo
    MSRP: $12.02 Your Price: $7.66
    1
    Add To Cart
  • 7 Cadillac 12654139 Engine Cover Cap
    12654139
    Engine Cover Cap
    Cap, Engine Fuel Intake Manifold
    • Part Notes: 2014-15
    MSRP: $1.47 Your Price: $0.94
    1
    Add To Cart
  • 7 Cadillac 12616618 Front Bracket
    12616618
    Front Bracket
    Bracket, Engine Fuel Intake Manifold
    • Part Notes: 3.6 Liter
    MSRP: $15.39 Your Price: $9.82
    1
    Add To Cart
  • 7
    12594875
    Rear Insulator Grommet
    Grommet-Upper Intake Manifold Sight Shield
    • Part Notes: Coupe, 6.2 Liter;Wagon, 6.2 Liter
    MSRP: $7.73 Your Price: $4.86
    1
    Add To Cart
  • 8
    12622176
    Emblem
    Emblem-Intake Manifold Cover
    • Part Notes: 2.0 Liter Turbo;2014-15
  • 8 Cadillac 12616618 Front Bracket
    12616618
    Front Bracket
    Bracket, Engine Fuel Intake Manifold
    • Part Notes: 3.0, 3.6 Liter
    MSRP: $15.39 Your Price: $9.82
    1
    Add To Cart
  • 9
    24507878
    Engine Cover Cushion
    Insulator, Manifold To Cylinder Head
    • Part Notes: 3.6 Liter Twin-Turbo
    MSRP: $11.08 Your Price: $6.12
    1
    Add To Cart
  • 9 Cadillac 12639416 Heat Shield
    12639416
    Heat Shield
    Shield, Engine Camshaft & Valve Rocker Cover
    • Part Notes: 2.0 Liter Turbo
    MSRP: $34.03 Your Price: $21.72
    1
    Add To Cart
  • 9
    12639005
    Rear Insulator
    Insulator, Manifold To Cylinder Head
    • Part Notes: 3.6 Liter
    MSRP: $31.23 Your Price: $19.91
  • 9 Cadillac 12653617 Rear Insulator
    12653617
    Rear Insulator
    Insulator, Manifold To Cylinder Head
    • Part Notes: 2014-15
    MSRP: $48.15 Your Price: $30.74
    1
    Add To Cart
  • 10
    12622176
    Emblem
    Emblem-Intake Manifold Cover
    • Part Notes: 3.6 Liter Twin-Turbo
  • 10 Cadillac 12632619 Intake Cover
    12632619
    Intake Cover
    Cover, Engine Fuel Intake Manifold
    • Part Notes: 2.0 Liter Turbo
    MSRP: $283.18 Your Price: $141.03
    1
    Add To Cart
  • 10
    12639005
    Rear Insulator
    Insulator, Manifold To Cylinder Head
    • Part Notes: 3.0, 3.6 Liter, All
    MSRP: $31.23 Your Price: $19.91
  • 10
    11589290
    Rear Insulator Retainer
    Pin - Push, Fits 6.5 Hole, 4.5 -7.0 Thick P*Black
    • Part Notes: 2014-15;3.6 Liter
    MSRP: $4.93 Your Price: $3.15
    15
    Add To Cart
  • 11 Cadillac 12643423 Heat Shield
    12643423
    Heat Shield
    Shield, Engine Rear Noise
    • Part Notes: 2014-15, Inner;3.6 Liter, Engine
    MSRP: $10.10 Your Price: $6.79
  • 11 Cadillac 12643925 Heat Shield
    12643925
    Heat Shield
    Shield, Engine Front Cover
    • Part Notes: 3.6 Liter Twin-Turbo, Inner
    MSRP: $8.87 Your Price: $5.96
    1
    Add To Cart
  • 11 Cadillac 12655386 Rear Insulator
    12655386
    Rear Insulator
    Insulator-Fuel Pump
    • Part Notes: 2.0 Liter Turbo
    MSRP: $51.76 Your Price: $28.61
    1
    Add To Cart
  • 12
    12642664
    Heat Shield
    Shield-Fuel Pipe
    • Part Notes: 2014-15, Outer;3.6 Liter, Fuel Pipe
    MSRP: $27.59 Your Price: $15.46
  • 12
    12643926
    Heat Shield
    Shield-Fuel Pipe
    • Part Notes: 3.6 Liter Twin-Turbo, Outer
    MSRP: $19.00 Your Price: $12.13
    1
    Add To Cart
  • 12 Cadillac 12643423 Rear Shield
    12643423
    Rear Shield
    Shield, Engine Rear Noise
    • Part Notes: 3.0, 3.6 Liter, Engine, All
    MSRP: $10.10 Your Price: $6.79
  • 13
    12642664
    Rear Shield
    Shield-Fuel Pipe
    • Part Notes: 3.0, 3.6 Liter, Fuel Pipe, All
    MSRP: $27.59 Your Price: $15.46
  • 11588712
    Front Bracket Bolt
    Bolt, Brake Pedal
    • Part Notes: 3.0, 3.6 Liter, 6x20;3.0, 3.6 Liter, Shield, Fuel Pipe;3.6 Liter, Fuel Pipe Shield
    MSRP: $7.94 Your Price: $5.06
    10
    Add To Cart
  • 11588723
    Front Bracket Bolt
    Bolt, Chassis/Engine Wiring Harness
    • Part Notes: 3.0, 3.6 Liter, 8x25
    MSRP: $0.30 Your Price: $0.19
    1
    Add To Cart
  • 11516075
    Front Bracket Nut
    Standard Parts
    • Part Notes: 3.0, 3.6 Liter;3.6 Liter
    MSRP: $3.25 Your Price: $2.07
    10
    Add To Cart