2017 Buick Enclave Second Row Seats

Currently shopping for
2017 Buick Enclave
Change Vehicle
Vehicle Options
6 Cyl 3.6 L GAS
Vehicle Options
6 Cyl 3.6 L GAS
6 diagrams found for the vehicle you selected.Select your vehicle options to narrow down results.
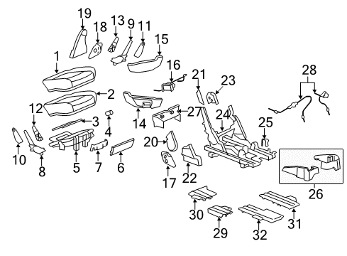
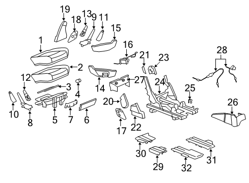
  • 1.Seats & Tracks - Second Row Seats (Left Side,Seat Cushion Components)
    2017 Buick Enclave Second Row Seats Diagram 1 - Thumbnail
  • 2.Seats & Tracks - Second Row Seats (Right Side,Seat Back Components)
    2017 Buick Enclave Second Row Seats Diagram 2 - Thumbnail
  • 3.Seats & Tracks - Second Row Seats (Right Side,Seat Cushion Components)
    2017 Buick Enclave Second Row Seats Diagram 3 - Thumbnail
  • 4.Seats & Tracks - Second Row Seats (Seat Back Components,Left Side)
    2017 Buick Enclave Second Row Seats Diagram 4 - Thumbnail
  • 5.Seats & Tracks - Second Row Seats (Seat Back Components,With Captain Seats)
    2017 Buick Enclave Second Row Seats Diagram 5 - Thumbnail
  • 6.Seats & Tracks - Second Row Seats (Seat Cushion Components,With Captain Seats)
    2017 Buick Enclave Second Row Seats Diagram 6 - Thumbnail
Sort by:
Ref No.
Ref No.
Part No. & Part Description
Price & Qty.
Part No. &
Part Description
  • 1 Buick 23486064 Cushion Cover
    23486064
    Cushion Cover
    Cover Assembly-Rear Seat Cushion *Ebony
    • Part Notes: W/Captain Seats, Seat Cushion Components, W/Leather, Ebony
    • Location: Driver Side;Passenger Side
    MSRP: $149.85 Your Price: $100.70
    1
    Add To Cart
  • 1 Buick 22958252 Cushion Cover
    22958252
    Cushion Cover
    Cover, Rear Seat Cushion
    • Part Notes: W/Captain Seats, Seat Cushion Components, W/O Leather, Titanium
    • Location: Driver Side;Passenger Side
    MSRP: $84.05 Your Price: $56.48
    1
    Add To Cart
  • 1 Buick 23134304 Cushion Cover
    23134304
    Cushion Cover
    Cover Assembly-Rear Seat Cushion *Ebony
    • Part Notes: Seat Cushion Components, Left Side, W/Leather, Ebony
    • Location: Driver Side
    MSRP: $219.44 Your Price: $146.80
    1
    Add To Cart
  • 1 Buick 23134305 Cushion Cover
    23134305
    Cushion Cover
    Cover, Rear Seat Cushion
    • Part Notes: Seat Cushion Components, Left Side, W/Leather, Titanium
    • Location: Driver Side
    MSRP: $106.97 Your Price: $71.89
    1
    Add To Cart
  • 1 Buick 23134308 Cushion Cover
    23134308
    Cushion Cover
    Cover, Rear Seat Cushion
    • Part Notes: Seat Cushion Components, Right Side, W/Leather, Titanium
    • Location: Passenger Side
    MSRP: $283.65 Your Price: $54.12
    1
    Add To Cart
  • 1 Buick 23486066 Cushion Cover
    23486066
    Cushion Cover
    Cover, Rear Seat Cushion
    • Part Notes: W/Captain Seats, Seat Cushion Components, W/Leather, Choccachino
    • Location: Driver Side;Passenger Side
    MSRP: $138.32 Your Price: $103.74
    1
    Add To Cart
  • 1 Buick 23486073 Cushion Cover
    23486073
    Cushion Cover
    Cover Assembly-Rear Seat Cushion *Ebony
    • Part Notes: Seat Cushion Components, Right Side, W/Leather, Ebony
    • Location: Passenger Side
    MSRP: $140.95 Your Price: $84.58
    1
    Add To Cart
  • 1 Buick 22958309 Headrest
    22958309
    Headrest
    Restraint, Seat Headrest
    • Part Notes: W/Captain Seats, Seat Back Components, W/O Leather, Titanium
    • Location: Driver Side;Passenger Side
    MSRP: $186.91 Your Price: $125.05
    1
    Add To Cart
  • 1 Buick 22958311 Headrest
    22958311
    Headrest
    Restraint, Rear Seat Head Restraint
    • Part Notes: Seat Back Components, Left Side, W/Leather, Ebony;Seat Back Components, Right Side, Ebony;W/Captain Seats, Seat Back Components, W/Leather, Ebony
    • Location: Driver Side;Passenger Side
    MSRP: $78.16 Your Price: $52.52
    1
    Add To Cart
  • 1 Buick 22958312 Headrest
    22958312
    Headrest
    Restraint, Seat Headrest
    • Part Notes: Seat Back Components, Left Side, W/Leather, Titanium;Seat Back Components, Right Side, Titanium;W/Captain Seats, Seat Back Components, W/Leather, Titanium
    • Location: Driver Side;Passenger Side
    MSRP: $79.34 Your Price: $53.31
    1
    Add To Cart
  • 3 Buick 22791204 Headrest Gearbox
    22791204
    Headrest Gearbox
    Restraint, Seat Headrest
    • Part Notes: Seat Back Components, Left Side;Seat Back Components, Right Side;W/Captain Seats, Seat Back Components
    • Location: Driver Side;Passenger Side
    MSRP: $52.53 Your Price: $35.30
    1
    Add To Cart
  • 3 Buick 15899859 Support
    15899859
    Support
    Support Assembly-Rear Seat
    • Part Notes: Seat Cushion Components, Left Side;Seat Cushion Components, Right Side;W/Captain Seats, Seat Cushion Components
    • Location: Driver Side;Passenger Side
    MSRP: $3.89 Your Price: $2.61
    1
    Add To Cart
  • 4 Buick 20916173 Headrest Gearbox Panel
    20916173
    Headrest Gearbox Panel
    Panel, Seat Headrest
    • Part Notes: Seat Back Components, Left Side;Seat Back Components, Right Side;W/Captain Seats, Seat Back Components
    • Location: Driver Side;Passenger Side
    MSRP: $8.49 Your Price: $5.70
    1
    Add To Cart
  • 4 Buick 15899864 Spring
    15899864
    Spring
    Spring-Rear Seat Cushion
    • Part Notes: Seat Cushion Components, Left Side;Seat Cushion Components, Right Side;W/Captain Seats, Seat Cushion Components
    • Location: Driver Side;Passenger Side
    MSRP: $6.27 Your Price: $4.22
    1
    Add To Cart
  • 5 Buick 15899390 Cushion Frame
    15899390
    Cushion Frame
    Frame Assembly-Rear Seat Cushion
    • Part Notes: Seat Cushion Components, Left Side
    • Location: Driver Side
  • 5 Buick 15899422 Cushion Frame
    15899422
    Cushion Frame
    Frame Assembly-Rear Seat Cushion
    • Part Notes: Seat Cushion Components, Right Side;W/Captain Seats, Seat Cushion Components
    • Location: Passenger Side
    MSRP: $41.41 Your Price: $27.83
    1
    Add To Cart
  • 5 Buick 15899657 Cushion Frame
    15899657
    Cushion Frame
    Frame Assembly-Rear Seat Cushion
    • Part Notes: W/Captain Seats, Seat Cushion Components
    • Location: Driver Side
    MSRP: $116.37 Your Price: $78.20
    1
    Add To Cart
  • 5 Buick 22958277 Seat Back Cover
    22958277
    Seat Back Cover
    Cover Assembly-Rear Seat Back *Titanium
    • Part Notes: W/Captain Seats, Seat Back Components, W/O Leather, Titanium
    • Location: Driver Side
    MSRP: $268.20 Your Price: $179.43
    1
    Add To Cart
  • 5 Buick 22958299 Seat Back Cover
    22958299
    Seat Back Cover
    Cover Assembly-Rear Seat Back *Titanium
    • Part Notes: W/Captain Seats, Seat Back Components, W/O Leather, Titanium
    • Location: Passenger Side
    MSRP: $286.08 Your Price: $191.39
    1
    Add To Cart
  • 5 Buick 23134283 Seat Back Cover
    23134283
    Seat Back Cover
    Cover Assembly-Rear Seat Back *Titanium
    • Part Notes: Seat Back Components, Left Side, W/Leather, Titanium
    • Location: Driver Side
  • 5 Buick 23134286 Seat Back Cover
    23134286
    Seat Back Cover
    Cover Assembly-Rear Seat Back *Titanium
    • Part Notes: Seat Back Components, Right Side, W/Leather, Titanium
    • Location: Passenger Side
    MSRP: $396.97 Your Price: $265.57
    1
    Add To Cart
  • 5 Buick 23486059 Seat Back Cover
    23486059
    Seat Back Cover
    Cover, Seat Back Cushion
    • Part Notes: Seat Back Components, Left Side, W/Leather, Ebony
    • Location: Driver Side
  • 5 Buick 23486062 Seat Back Cover
    23486062
    Seat Back Cover
    Cover Assembly-Rear Seat Back *Titanium
    • Part Notes: W/Captain Seats, Seat Back Components, W/Leather, Titanium
    • Location: Driver Side
    MSRP: $221.07 Your Price: $147.89
    1
    Add To Cart
  • 5 Buick 23486065 Seat Back Cover
    23486065
    Seat Back Cover
    Cover, Seat Back Cushion
    • Part Notes: W/Captain Seats, Seat Back Components, W/Leather, Ebony
    • Location: Driver Side
    MSRP: $221.07 Your Price: $147.89
    1
    Add To Cart
  • 5 Buick 23486067 Seat Back Cover
    23486067
    Seat Back Cover
    Cover, Rear Seat Back
    • Part Notes: W/Captain Seats, Seat Back Components, W/Leather, Choccachino
    • Location: Driver Side
  • 5 Buick 23486077 Seat Back Cover
    23486077
    Seat Back Cover
    Cover, Rear Seat Back
    • Part Notes: W/Captain Seats, Seat Back Components, W/Leather, Choccachino
    • Location: Passenger Side
    MSRP: $406.69 Your Price: $297.69
    1
    Add To Cart
  • 5 Buick 23486078 Seat Back Cover
    23486078
    Seat Back Cover
    Cover Assembly-Rear Seat Back *Titanium
    • Part Notes: W/Captain Seats, Seat Back Components, W/Leather, Titanium
    • Location: Passenger Side
    MSRP: $104.71 Your Price: $70.37
    1
    Add To Cart
  • 5 Buick 23486079 Seat Back Cover
    23486079
    Seat Back Cover
    Cover, Seat Back Cushion
    • Part Notes: W/Captain Seats, Seat Back Components, W/Leather, Ebony
    • Location: Passenger Side
    MSRP: $220.59 Your Price: $147.58
    1
    Add To Cart
  • 6 Buick 15901512 Front Trim
    15901512
    Front Trim
    Cover, Seat Back Cushion
    • Part Notes: Seat Cushion Components, Right Side, All, Ebony;W/Captain Seats, Seat Cushion Components, Ebony
    • Location: Driver Side;Passenger Side
  • 6 Buick 15901514 Front Trim
    15901514
    Front Trim
    Cover, Seat Back Cushion
    • Part Notes: Seat Cushion Components, Right Side, All, Titanium;W/Captain Seats, Seat Cushion Components, Titanium
    • Location: Driver Side;Passenger Side
    MSRP: $9.31 Your Price: $6.26
    1
    Add To Cart
  • 6 Buick 15901516 Front Trim
    15901516
    Front Trim
    Cover, Seat Back Cushion
    • Part Notes: Seat Cushion Components, Left Side, Ebony
    • Location: Driver Side
  • 6 Buick 15901518 Front Trim
    15901518
    Front Trim
    Cover, Seat Back Cushion
    • Part Notes: Seat Cushion Components, Left Side, Titanium
    • Location: Driver Side
    MSRP: $5.21 Your Price: $3.51
    1
    Add To Cart
  • 6 Buick 22964631 Front Trim
    22964631
    Front Trim
    Cover, Seat Back Cushion
    • Part Notes: W/Captain Seats, Seat Cushion Components, Cocoa
    • Location: Driver Side;Passenger Side
  • 6 Buick 22775890 Seat Back Pad
    22775890
    Seat Back Pad
    Pad Assembly-Rear Seat Back Cushion
    • Part Notes: Seat Back Components, Left Side, 2nd Design
    • Location: Driver Side
  • 6 Buick 22775891 Seat Back Pad
    22775891
    Seat Back Pad
    Pad, Rear Seat Back
    • Part Notes: W/Captain Seats, Seat Back Components, 2nd Design
    • Location: Passenger Side
  • 6 Buick 22775892 Seat Back Pad
    22775892
    Seat Back Pad
    Pad, Rear Seat Back
    • Part Notes: Seat Back Components, Right Side, 2nd Design
    • Location: Passenger Side
    MSRP: $139.38 Your Price: $93.67
    1
    Add To Cart
  • 6 Buick 22775893 Seat Back Pad
    22775893
    Seat Back Pad
    Pad, Rear Seat Back
    • Part Notes: W/Captain Seats, Seat Back Components, 2nd Design
    • Location: Driver Side
  • 7 Buick 22964655 Mount Panel
    22964655
    Mount Panel
    Cover, Seat Back Cushion
    • Part Notes: W/Captain Seats, Seat Cushion Components, All, Cocoa
    • Location: Driver Side;Passenger Side
    MSRP: $23.18 Your Price: $15.58
    1
    Add To Cart
  • 7 Buick 25797946 Mount Panel
    25797946
    Mount Panel
    Cover, Seat Back Cushion
    • Part Notes: W/Captain Seats, Seat Cushion Components, All, Titanium
    • Location: Driver Side;Passenger Side
    MSRP: $8.27 Your Price: $5.56
    1
    Add To Cart
  • 7 Buick 25797948 Mount Panel
    25797948
    Mount Panel
    Cover, Seat Back Cushion
    • Part Notes: Seat Cushion Components, Right Side, All, Ebony;W/Captain Seats, Seat Cushion Components, All, Ebony
    • Location: Driver Side;Passenger Side
  • 7 Buick 25797950 Mount Panel
    25797950
    Mount Panel
    Cover, Seat Back Cushion
    • Part Notes: Seat Cushion Components, Left Side, Titanium;Seat Cushion Components, Right Side, All, Titanium
    • Location: Driver Side;Passenger Side
    MSRP: $24.91 Your Price: $16.74
    1
    Add To Cart
  • 7 Buick 25797952 Mount Panel
    25797952
    Mount Panel
    Cover, Seat Back Cushion
    • Part Notes: Seat Cushion Components, Left Side, Ebony
    • Location: Driver Side
  • 7 Buick 22775879 Seat Back Frame
    22775879
    Seat Back Frame
    Frame, Rear Seat Back
    • Part Notes: Seat Back Components, Left Side, 2nd Design
    • Location: Driver Side
  • 7 Buick 22775881 Seat Back Frame
    22775881
    Seat Back Frame
    Frame, Rear Seat Back
    • Part Notes: W/Captain Seats, Seat Back Components, 2nd Design
    • Location: Passenger Side
    MSRP: $37.67 Your Price: $25.31
    1
    Add To Cart
  • 7 Buick 22775882 Seat Back Frame
    22775882
    Seat Back Frame
    Frame, Rear Seat Back
    • Part Notes: Seat Back Components, Right Side, 2nd Design
    • Location: Passenger Side
    MSRP: $66.05 Your Price: $44.39
    1
    Add To Cart
  • 7 Buick 22775884 Seat Back Frame
    22775884
    Seat Back Frame
    Frame, Rear Seat Back
    • Part Notes: W/Captain Seats, Seat Back Components, 2nd Design
    • Location: Driver Side
  • 8 Buick 15899387 Latch
    15899387
    Latch
    Latch, Folding Rear Seat
    • Part Notes: Seat Cushion Components, Right Side, Outboard;W/Captain Seats, Seat Cushion Components, Outboard
    • Location: Passenger Side
    MSRP: $24.41 Your Price: $16.41
  • 8 Buick 15899388 Latch
    15899388
    Latch
    Latch, Folding Rear Seat
    • Part Notes: Seat Cushion Components, Left Side, Outboard;W/Captain Seats, Seat Cushion Components, Outboard
    • Location: Driver Side
  • 8 Buick 22775896 Seat Back Panel
    22775896
    Seat Back Panel
    Panel, Rear Seat Back
    • Part Notes: Seat Back Components, Left Side, 2nd Design
    • Location: Driver Side
    MSRP: $10.79 Your Price: $7.25
    1
    Add To Cart
  • 8 Buick 22775897 Seat Back Panel
    22775897
    Seat Back Panel
    Panel, Rear Seat Back
    • Part Notes: Seat Back Components, Right Side
    • Location: Passenger Side
    MSRP: $16.38 Your Price: $11.01
    1
    Add To Cart
  • 8 Buick 22775898 Seat Back Panel
    22775898
    Seat Back Panel
    Panel, Rear Seat Back
    • Part Notes: W/Captain Seats, Seat Back Components
    • Location: Driver Side
    MSRP: $16.38 Your Price: $13.11
    1
    Add To Cart
  • 8 Buick 22818935 Seat Back Panel
    22818935
    Seat Back Panel
    Panel Assembly-Rear Seat Back
    • Part Notes: W/Captain Seats, Seat Back Components
    • Location: Passenger Side
    MSRP: $13.49 Your Price: $9.06
    1
    Add To Cart
  • 9 Buick 15899386 Latch
    15899386
    Latch
    Latch, Folding Rear Seat
    • Part Notes: Seat Cushion Components, Right Side, Inboard;W/Captain Seats, Seat Cushion Components, Inboard
    • Location: Passenger Side
    MSRP: $24.87 Your Price: $15.89
    1
    Add To Cart
  • 9 Buick 22775876 Seat Back Panel Bezel
    22775876
    Seat Back Panel Bezel
    Bezel, Seat Cushion
    • Part Notes: Seat Back Components, Left Side, Ebony, 2nd Design;Seat Back Components, Right Side, Ebony, 2nd Design;W/Captain Seats, Seat Back Components, Ebony, 2nd Design
    • Location: Driver Side;Passenger Side
  • 9 Buick 22809146 Seat Back Panel Bezel
    22809146
    Seat Back Panel Bezel
    Bezel, Seat Cushion
    • Part Notes: Seat Back Components, Left Side, Titanium, 2nd Design;Seat Back Components, Right Side, Titanium, 2nd Design;W/Captain Seats, Seat Back Components, Titanium, 2nd Design
    • Location: Driver Side;Passenger Side
  • 9 Buick 22929839 Seat Back Panel Bezel
    22929839
    Seat Back Panel Bezel
    Bezel, Seat Cushion
    • Part Notes: W/Captain Seats, Seat Back Components, Cocoa
    • Location: Driver Side;Passenger Side
  • 10 Buick 15899807 Latch
    15899807
    Latch
    Handle, Seat Back Cushion
    • Part Notes: Seat Back Components, Left Side
    • Location: Driver Side
    MSRP: $15.77 Your Price: $10.60
    1
    Add To Cart
  • 10 Buick 15899851 Latch
    15899851
    Latch
    Handle, Seat Back Cushion
    • Part Notes: Seat Back Components, Right Side;W/Captain Seats, Seat Back Components
    • Location: Passenger Side
    MSRP: $17.91 Your Price: $12.03
    1
    Add To Cart
  • 10 Buick 15899852 Latch
    15899852
    Latch
    Handle, Seat Back Cushion
    • Part Notes: W/Captain Seats, Seat Back Components
    • Location: Driver Side
  • 10 Buick 15900392 Latch Outer Cover
    15900392
    Latch Outer Cover
    Cover, Seat Back Cushion
    • Part Notes: Seat Cushion Components, Right Side, Outboard, Ebony;W/Captain Seats, Seat Cushion Components, Outboard, Ebony
    • Location: Passenger Side
  • 10 Buick 15900394 Latch Outer Cover
    15900394
    Latch Outer Cover
    Cover, Seat Back Cushion
    • Part Notes: Seat Cushion Components, Right Side, Outboard, Titanium;W/Captain Seats, Seat Cushion Components, Outboard, Titanium
    • Location: Passenger Side
  • 10 Buick 15900396 Latch Outer Cover
    15900396
    Latch Outer Cover
    Cover, Seat Back Cushion
    • Part Notes: Seat Cushion Components, Left Side, Outboard, Ebony;W/Captain Seats, Seat Cushion Components, Outboard, Ebony
    • Location: Driver Side
  • 10 Buick 15900398 Latch Outer Cover
    15900398
    Latch Outer Cover
    Cover, Seat Back Cushion
    • Part Notes: Seat Cushion Components, Left Side, Outboard, Titanium;W/Captain Seats, Seat Cushion Components, Outboard, Titanium
    • Location: Driver Side
    MSRP: $8.07 Your Price: $5.42
    1
    Add To Cart
  • 10 Buick 22959578 Latch Outer Cover
    22959578
    Latch Outer Cover
    Cover, Seat Back Cushion
    • Part Notes: W/Captain Seats, Seat Cushion Components, Outboard, Cocoa
    • Location: Driver Side
    MSRP: $7.38 Your Price: $4.96
    1
    Add To Cart
  • 10 Buick 22959580 Latch Outer Cover
    22959580
    Latch Outer Cover
    Cover, Seat Back Cushion
    • Part Notes: W/Captain Seats, Seat Cushion Components, Outboard, Cocoa
    • Location: Passenger Side
    MSRP: $20.97 Your Price: $14.09
    1
    Add To Cart
  • 11 Buick 15900392 Latch Outer Cover
    15900392
    Latch Outer Cover
    Cover, Seat Back Cushion
    • Part Notes: Seat Cushion Components, Left Side, Inboard, Ebony;W/Captain Seats, Seat Cushion Components, Inboard, Ebony
    • Location: Driver Side
  • 11 Buick 15900394 Latch Outer Cover
    15900394
    Latch Outer Cover
    Cover, Seat Back Cushion
    • Part Notes: Seat Cushion Components, Left Side, Inboard, Titanium;W/Captain Seats, Seat Cushion Components, Inboard, Titanium
    • Location: Driver Side
  • 11 Buick 15900396 Latch Outer Cover
    15900396
    Latch Outer Cover
    Cover, Seat Back Cushion
    • Part Notes: Seat Cushion Components, Right Side, Inboard, Ebony;W/Captain Seats, Seat Cushion Components, Inboard, Ebony
    • Location: Passenger Side
  • 11 Buick 15900398 Latch Outer Cover
    15900398
    Latch Outer Cover
    Cover, Seat Back Cushion
    • Part Notes: Seat Cushion Components, Right Side, Inboard, Titanium;W/Captain Seats, Seat Cushion Components, Inboard, Titanium
    • Location: Passenger Side
    MSRP: $8.07 Your Price: $5.42
    1
    Add To Cart
  • 11 Buick 22959578 Latch Outer Cover
    22959578
    Latch Outer Cover
    Cover, Seat Back Cushion
    • Part Notes: W/Captain Seats, Seat Cushion Components, Inboard, Cocoa
    • Location: Passenger Side
    MSRP: $7.38 Your Price: $4.96
    1
    Add To Cart
  • 11 Buick 22959580 Latch Outer Cover
    22959580
    Latch Outer Cover
    Cover, Seat Back Cushion
    • Part Notes: W/Captain Seats, Seat Cushion Components, Inboard, Cocoa
    • Location: Driver Side
    MSRP: $20.97 Your Price: $14.09
    1
    Add To Cart
  • 11 Buick 20791515 Release Handle
    20791515
    Release Handle
    Handle-Rear Seat Latch Release *Medium Titanium
    • Part Notes: Seat Back Components, Right Side, Titanium;W/Captain Seats, Seat Back Components, Titanium
    • Location: Passenger Side
    MSRP: $52.89 Your Price: $35.54
    1
    Add To Cart
  • 11 Buick 20791513 Release Handle
    20791513
    Release Handle
    Handle, Seat
    • Part Notes: Seat Back Components, Right Side, Ebony;W/Captain Seats, Seat Back Components, Ebony
    • Location: Passenger Side
  • 11 Buick 20791582 Release Handle
    20791582
    Release Handle
    Handle, Seat
    • Part Notes: Seat Back Components, Left Side, Ebony;W/Captain Seats, Seat Back Components, Ebony
    • Location: Driver Side
    Your Price: $13.11
    1
    Add To Cart
  • 11 Buick 20791584 Release Handle
    20791584
    Release Handle
    Handle-Rear Seat Latch Release *Medium Titanium
    • Part Notes: Seat Back Components, Left Side, Titanium;W/Captain Seats, Seat Back Components, Titanium
    • Location: Driver Side
  • 12 Buick 15901223 Latch Inner Cover
    15901223
    Latch Inner Cover
    Cover, Seat Back Cushion
    • Part Notes: Seat Cushion Components, Right Side, Outboard, Ebony;W/Captain Seats, Seat Cushion Components, Outboard, Ebony
    • Location: Passenger Side
  • 12 Buick 15901225 Latch Inner Cover
    15901225
    Latch Inner Cover
    Cover, Seat Back Cushion
    • Part Notes: W/Captain Seats, Seat Cushion Components, Outboard, Titanium
    • Location: Passenger Side
    MSRP: $8.07 Your Price: $5.42
    1
    Add To Cart
  • 12 Buick 15901227 Latch Inner Cover
    15901227
    Latch Inner Cover
    Cover, Seat Back Cushion
    • Part Notes: Seat Cushion Components, Left Side, Outboard, Ebony;W/Captain Seats, Seat Cushion Components, Outboard, Ebony
    • Location: Driver Side
    MSRP: $8.07 Your Price: $5.42
    1
    Add To Cart
  • 12 Buick 15901229 Latch Inner Cover
    15901229
    Latch Inner Cover
    Cover, Seat Back Cushion
    • Part Notes: W/Captain Seats, Seat Cushion Components, Outboard, Titanium
    • Location: Driver Side
    MSRP: $1.50 Your Price: $1.01
    1
    Add To Cart
  • 12 Buick 22959582 Latch Inner Cover
    22959582
    Latch Inner Cover
    Cover, Seat Back Cushion
    • Part Notes: W/Captain Seats, Seat Cushion Components, Outboard, Cocoa
    • Location: Driver Side
    MSRP: $17.50 Your Price: $11.76
    1
    Add To Cart
  • 12 Buick 22959584 Latch Inner Cover
    22959584
    Latch Inner Cover
    Cover, Seat Back Cushion
    • Part Notes: W/Captain Seats, Seat Cushion Components, Outboard, Cocoa
    • Location: Passenger Side
    MSRP: $2.13 Your Price: $1.43
    1
    Add To Cart
  • 12 Buick 15901735 Release Handle Cap
    15901735
    Release Handle Cap
    Cap, Seat Adjuster/Recliner
    • Part Notes: W/Captain Seats, Seat Back Components, Cashmere
    • Location: Driver Side
  • 12 Buick 23391558 Release Handle Cap
    23391558
    Release Handle Cap
    Cap, Seat Adjuster/Recliner
    • Part Notes: W/Captain Seats, Seat Back Components, Titanium
    • Location: Driver Side
  • 12 Buick 23391560 Release Handle Cap
    23391560
    Release Handle Cap
    Cap, Seat Adjuster/Recliner
    • Part Notes: W/Captain Seats, Seat Back Components, Cocoa
    • Location: Driver Side
    MSRP: $7.95 Your Price: $5.34
    1
    Add To Cart
  • 12 Buick 23391601 Release Handle Cap
    23391601
    Release Handle Cap
    Cap, Seat Adjuster/Recliner
    • Part Notes: Seat Back Components, Left Side, Ebony;W/Captain Seats, Seat Back Components, Ebony
    • Location: Driver Side
  • 12 Buick 23391602 Release Handle Cap
    23391602
    Release Handle Cap
    Cap, Seat Adjuster/Recliner
    • Part Notes: Seat Back Components, Left Side, Titanium
    • Location: Driver Side
    MSRP: $8.07 Your Price: $5.42
    1
    Add To Cart
  • 12 Buick 23392032 Release Handle Cap
    23392032
    Release Handle Cap
    Cap, Seat Adjuster/Recliner
    • Part Notes: Seat Back Components, Right Side, Ebony;W/Captain Seats, Seat Back Components, Ebony
    • Location: Passenger Side
    MSRP: $6.03 Your Price: $4.05
    1
    Add To Cart
  • 12 Buick 23392033 Release Handle Cap
    23392033
    Release Handle Cap
    Cap, Seat Adjuster/Recliner
    • Part Notes: Seat Back Components, Right Side, Titanium;W/Captain Seats, Seat Back Components, Titanium
    • Location: Passenger Side
    Your Price: $13.11
    1
    Add To Cart
  • 12 Buick 23392035 Release Handle Cap
    23392035
    Release Handle Cap
    Cap, Seat Adjuster/Recliner
    • Part Notes: W/Captain Seats, Seat Back Components, Cocoa
    • Location: Passenger Side
    MSRP: $13.13 Your Price: $8.83
    1
    Add To Cart
  • 12 Buick 25900259 Release Handle Cap
    25900259
    Release Handle Cap
    Cap, Seat Adjuster/Recliner
    • Part Notes: W/Captain Seats, Seat Back Components, Cashmere
    • Location: Passenger Side
    MSRP: $1.01 Your Price: $0.68
    1
    Add To Cart
  • 13 Buick 22851847 Actuator
    22851847
    Actuator
    Actuator-Rear Seat Back Stowage Latch *Light Titanium
    • Part Notes: Seat Back Components, Right Side, Titanium;W/Captain Seats, Seat Back Components, Titanium
    • Location: Driver Side;Passenger Side
  • 13 Buick 22851851 Actuator
    22851851
    Actuator
    Actuator, Seat Back Cushion
    • Part Notes: Seat Back Components, Right Side, Ebony;W/Captain Seats, Seat Back Components, Ebony
    • Location: Driver Side;Passenger Side
  • 13 Buick 22960118 Actuator
    22960118
    Actuator
    Actuator, Seat Back Cushion
    • Part Notes: W/Captain Seats, Seat Back Components, Cocoa
    • Location: Driver Side;Passenger Side
    MSRP: $56.71 Your Price: $38.11
  • 13 Buick 15901223 Latch Inner Cover
    15901223
    Latch Inner Cover
    Cover, Seat Back Cushion
    • Part Notes: Seat Cushion Components, Left Side, Inboard, Ebony;W/Captain Seats, Seat Cushion Components, Inboard, Ebony
    • Location: Driver Side
  • 13 Buick 15901225 Latch Inner Cover
    15901225
    Latch Inner Cover
    Cover, Seat Back Cushion
    • Part Notes: W/Captain Seats, Seat Cushion Components, Inboard, Titanium
    • Location: Driver Side
    MSRP: $8.07 Your Price: $5.42
    1
    Add To Cart
  • 13 Buick 15901227 Latch Inner Cover
    15901227
    Latch Inner Cover
    Cover, Seat Back Cushion
    • Part Notes: Seat Cushion Components, Right Side, Inboard, Ebony;W/Captain Seats, Seat Cushion Components, Inboard, Ebony
    • Location: Passenger Side
    MSRP: $8.07 Your Price: $5.42
    1
    Add To Cart
  • 13 Buick 15901229 Latch Inner Cover
    15901229
    Latch Inner Cover
    Cover, Seat Back Cushion
    • Part Notes: W/Captain Seats, Seat Cushion Components, Inboard, Titanium
    • Location: Passenger Side
    MSRP: $1.50 Your Price: $1.01
    1
    Add To Cart
  • 13 Buick 22959582 Latch Inner Cover
    22959582
    Latch Inner Cover
    Cover, Seat Back Cushion
    • Part Notes: W/Captain Seats, Seat Cushion Components, Inboard, Cocoa
    • Location: Passenger Side
    MSRP: $17.50 Your Price: $11.76
    1
    Add To Cart
  • 13 Buick 22959584 Latch Inner Cover
    22959584
    Latch Inner Cover
    Cover, Seat Back Cushion
    • Part Notes: W/Captain Seats, Seat Cushion Components, Inboard, Cocoa
    • Location: Driver Side
    MSRP: $2.13 Your Price: $1.43
    1
    Add To Cart
  • 13 Buick 25797933 Support
    25797933
    Support
    Support, Rear Seat Cushion (With Frame)
    • Part Notes: Seat Back Components, Left Side
    • Location: Driver Side
    MSRP: $78.73 Your Price: $49.11
    1
    Add To Cart
  • 14 Buick 22851843 Actuator
    22851843
    Actuator
    Actuator-Rear Seat Back Stowage Latch *Light Titanium
    • Part Notes: Seat Back Components, Left Side, Titanium
    • Location: Driver Side
    MSRP: $56.71 Your Price: $38.11
  • 14 Buick 22851846 Actuator
    22851846
    Actuator
    Actuator, Seat Back Cushion
    • Part Notes: Seat Back Components, Left Side, Ebony
    • Location: Driver Side
  • 14 Buick 22958325 Armrest
    22958325
    Armrest
    Armrest Assembly-Rear Seat *Ebony
    • Part Notes: W/Captain Seats, Seat Back Components, W/O Leather, Titanium
    • Location: Driver Side
  • 14 Buick 22958327 Armrest
    22958327
    Armrest
    Armrest Assembly-Rear Seat *Ebony
    • Part Notes: W/Captain Seats, Seat Back Components, W/Leather, Ebony
    • Location: Driver Side
  • 14 Buick 22958328 Armrest
    22958328
    Armrest
    Armrest, Rear Seat Center Armrest
    • Part Notes: W/Captain Seats, Seat Back Components, W/Leather, Titanium
    • Location: Driver Side
  • 14
    22958332
    Armrest
    Armrest, Armrest
    • Part Notes: W/Captain Seats, Seat Back Components, W/Leather, Choccachino
    • Location: Driver Side
  • 14 Buick 22958339 Armrest
    22958339
    Armrest
    Armrest Assembly-Rear Seat *Ebony
    • Part Notes: W/Captain Seats, Seat Back Components, W/O Leather, Titanium
    • Location: Passenger Side
    MSRP: $158.48 Your Price: $106.48
    1
    Add To Cart
  • 14 Buick 22958341 Armrest
    22958341
    Armrest
    Armrest Assembly-Rear Seat *Ebony
    • Part Notes: W/Captain Seats, Seat Back Components, W/Leather, Ebony
    • Location: Passenger Side
  • 14 Buick 22958344 Armrest
    22958344
    Armrest
    Armrest, Rear Seat Center Armrest
    • Part Notes: W/Captain Seats, Seat Back Components, W/Leather, Titanium
    • Location: Passenger Side
    MSRP: $77.27 Your Price: $51.91
    1
    Add To Cart
  • 14 Buick 22958348 Armrest
    22958348
    Armrest
    Armrest, Armrest
    • Part Notes: W/Captain Seats, Seat Back Components, W/Leather, Choccachino
    • Location: Passenger Side
    MSRP: $75.23 Your Price: $50.55
    1
    Add To Cart
  • 14 Buick 15901771 Bezel
    15901771
    Bezel
    Bezel-Rear Seat Latch Release Strap *Ebony
    • Part Notes: Seat Back Components, Right Side, Outer, Ebony
    • Location: Passenger Side
    MSRP: $10.35 Your Price: $6.96
    1
    Add To Cart
  • 14 Buick 15901773 Bezel
    15901773
    Bezel
    Bezel, Seat Cushion
    • Part Notes: Seat Back Components, Right Side, Outer, Titanium
    • Location: Passenger Side
  • 14
    15901473
    Outer Finish Panel
    Panel, Seat Cushion
    • Part Notes: Seat Cushion Components, Right Side, Ebony;W/Captain Seats, Seat Cushion Components, Ebony
    • Location: Passenger Side
    MSRP: $82.77 Your Price: $55.62
    1
    Add To Cart
  • 14 Buick 15901484 Outer Finish Panel
    15901484
    Outer Finish Panel
    Panel, Seat Cushion
    • Part Notes: Seat Cushion Components, Left Side, Ebony;W/Captain Seats, Seat Cushion Components, Ebony
    • Location: Driver Side
    MSRP: $70.31 Your Price: $47.24
    1
    Add To Cart
  • 14 Buick 15901486 Outer Finish Panel
    15901486
    Outer Finish Panel
    Panel, Seat Cushion
    • Part Notes: Seat Cushion Components, Left Side, Titanium;W/Captain Seats, Seat Cushion Components, Titanium
    • Location: Driver Side
  • 14 Buick 22964639 Outer Finish Panel
    22964639
    Outer Finish Panel
    Panel, Seat Cushion
    • Part Notes: W/Captain Seats, Seat Cushion Components, Cocoa
    • Location: Driver Side
    MSRP: $12.21 Your Price: $8.21
  • 14 Buick 25979523 Outer Finish Panel
    25979523
    Outer Finish Panel
    Panel, Seat Cushion
    • Part Notes: W/Captain Seats, Seat Cushion Components, Titanium
    • Location: Passenger Side
    MSRP: $71.38 Your Price: $47.97
  • 15 Buick 15901744 Armrest
    15901744
    Armrest
    Armrest Assembly-Rear Seat *Light Ttnum
    • Part Notes: Seat Back Components, Left Side, W/Leather, Titanium
    • Location: Driver Side
    MSRP: $275.39 Your Price: $54.57
    1
    Add To Cart
  • 15 Buick 23430827 Armrest
    23430827
    Armrest
    Armrest Assembly-Rear Seat *Ebony
    • Part Notes: Seat Back Components, Left Side, W/Leather, Ebony
    • Location: Driver Side
    MSRP: $308.40 Your Price: $50.25
    1
    Add To Cart
  • 15
    15900279
    Armrest Cap
    Cap, Armrest
    • Part Notes: W/Captain Seats, Seat Back Components, Ebony
    • Location: Driver Side;Passenger Side
    MSRP: $24.21 Your Price: $16.27
    1
    Add To Cart
  • 15 Buick 15901466 Bezel
    15901466
    Bezel
    Bezel, Seat Cushion
    • Part Notes: Seat Back Components, Right Side, Inner
    • Location: Passenger Side
    Your Price: $13.11
    1
    Add To Cart
  • 15
    15901478
    Inner Finish Panel
    Panel, Seat Cushion
    • Part Notes: W/Captain Seats, Seat Cushion Components, Ebony
    • Location: Passenger Side
    MSRP: $62.42 Your Price: $41.94
  • 15 Buick 15901480 Inner Finish Panel
    15901480
    Inner Finish Panel
    Panel, Seat Cushion
    • Part Notes: Seat Cushion Components, Right Side, Titanium;W/Captain Seats, Seat Cushion Components, Titanium
    • Location: Passenger Side
  • 15 Buick 15901488 Inner Finish Panel
    15901488
    Inner Finish Panel
    Panel, Seat Cushion
    • Part Notes: Seat Cushion Components, Left Side, Ebony;W/Captain Seats, Seat Cushion Components, Ebony
    • Location: Driver Side
    MSRP: $51.95 Your Price: $34.91
  • 15 Buick 15901490 Inner Finish Panel
    15901490
    Inner Finish Panel
    Panel, Seat Cushion
    • Part Notes: W/Captain Seats, Seat Cushion Components, Titanium
    • Location: Driver Side
    MSRP: $9.88 Your Price: $6.64
    1
    Add To Cart
  • 15 Buick 22964635 Inner Finish Panel
    22964635
    Inner Finish Panel
    Panel, Seat Cushion
    • Part Notes: W/Captain Seats, Seat Cushion Components, Cocoa
    • Location: Driver Side
  • 15 Buick 22964637 Inner Finish Panel
    22964637
    Inner Finish Panel
    Panel, Seat Cushion
    • Part Notes: W/Captain Seats, Seat Cushion Components, Cocoa
    • Location: Passenger Side
    MSRP: $11.50 Your Price: $7.73
  • 16 Buick 15900504 Adjust Handle
    15900504
    Adjust Handle
    Handle, Seat Adjuster/Recliner
    • Part Notes: Seat Cushion Components, Right Side, Ebony;W/Captain Seats, Seat Cushion Components, Ebony
    • Location: Passenger Side
  • 16 Buick 15900506 Adjust Handle
    15900506
    Adjust Handle
    Handle, Seat Adjuster/Recliner
    • Part Notes: Seat Cushion Components, Right Side, Titanium;W/Captain Seats, Seat Cushion Components, Titanium
    • Location: Passenger Side
    MSRP: $19.54 Your Price: $13.13
    1
    Add To Cart
  • 16 Buick 15900508 Adjust Handle
    15900508
    Adjust Handle
    Handle, Seat Adjuster/Recliner
    • Part Notes: W/Captain Seats, Seat Cushion Components, Ebony
    • Location: Driver Side
  • 16 Buick 15900510 Adjust Handle
    15900510
    Adjust Handle
    Handle, Seat Adjuster/Recliner
    • Part Notes: W/Captain Seats, Seat Cushion Components, Titanium
    • Location: Driver Side
  • 16 Buick 15901654 Adjust Handle
    15901654
    Adjust Handle
    Handle, Seat Adjuster/Recliner
    • Part Notes: Seat Cushion Components, Left Side, Ebony
    • Location: Driver Side
  • 16 Buick 15901656 Adjust Handle
    15901656
    Adjust Handle
    Handle, Seat Adjuster/Recliner
    • Part Notes: Seat Cushion Components, Left Side, Titanium
    • Location: Driver Side
    MSRP: $71.37 Your Price: $47.96
    1
    Add To Cart
  • 16 Buick 22967506 Adjust Handle
    22967506
    Adjust Handle
    Handle, Seat Adjuster/Recliner
    • Part Notes: W/Captain Seats, Seat Cushion Components, Cocoa
    • Location: Driver Side
    MSRP: $21.14 Your Price: $14.20
    1
    Add To Cart
  • 16 Buick 11569771 Armrest Bolt
    11569771
    Armrest Bolt
    Bolt/Screw
    • Part Notes: W/Captain Seats, Seat Back Components
    • Location: Driver Side;Passenger Side
    MSRP: $12.76 Your Price: $8.58
  • 16 Buick 25797669 Armrest Bolt
    25797669
    Armrest Bolt
    Bolt/Screw-Rear Seat Armrest
    • Part Notes: Seat Back Components, Left Side
    • Location: Driver Side
    MSRP: $13.66 Your Price: $9.18
    1
    Add To Cart
  • 17 Buick 25797661 Armrest Bushing
    25797661
    Armrest Bushing
    Bushing-Rear Seat Armrest Pivot
    • Part Notes: Seat Back Components, Left Side
    • Location: Driver Side
  • 17 Buick 15901771 Bezel
    15901771
    Bezel
    Bezel-Rear Seat Latch Release Strap *Ebony
    • Part Notes: W/Captain Seats, Seat Back Components, Outer, Ebony
    • Location: Driver Side;Passenger Side
    MSRP: $10.35 Your Price: $6.96
    1
    Add To Cart
  • 17 Buick 15901773 Bezel
    15901773
    Bezel
    Bezel, Seat Cushion
    • Part Notes: W/Captain Seats, Seat Back Components, Outer, Titanium
    • Location: Driver Side;Passenger Side
  • 17 Buick 22959576 Bezel
    22959576
    Bezel
    Bezel-Rear Seat Latch Release Strap *Cocoa
    • Part Notes: W/Captain Seats, Seat Back Components, Outer, Cocoa
    • Location: Driver Side;Passenger Side
    MSRP: $1.55 Your Price: $1.04
    1
    Add To Cart
  • 17 Buick 15901205 Trim Panel
    15901205
    Trim Panel
    Panel, Am4 - Rear Folding Split Back Bench Seat
    • Part Notes: Seat Cushion Components, Right Side, Outer, Ebony;W/Captain Seats, Seat Cushion Components, Outer, Ebony
    • Location: Passenger Side
  • 17 Buick 15901207 Trim Panel
    15901207
    Trim Panel
    Panel, Am4 - Rear Folding Split Back Bench Seat
    • Part Notes: Seat Cushion Components, Right Side, Outer, Titanium;W/Captain Seats, Seat Cushion Components, Outer, Titanium
    • Location: Passenger Side
    MSRP: $8.27 Your Price: $5.56
    1
    Add To Cart
  • 17 Buick 15901209 Trim Panel
    15901209
    Trim Panel
    Panel, Front Bucket Midlevel-A95
    • Part Notes: Seat Cushion Components, Left Side, Outer, Ebony
    • Location: Driver Side
  • 17 Buick 15901211 Trim Panel
    15901211
    Trim Panel
    Cover, Seat Cushion
    • Part Notes: Seat Cushion Components, Left Side, Outer, Titanium;W/Captain Seats, Seat Cushion Components, Outer, Titanium
    • Location: Driver Side
    MSRP: $17.59 Your Price: $11.82
    1
    Add To Cart
  • 17 Buick 22964643 Trim Panel
    22964643
    Trim Panel
    Panel, Front Bucket Midlevel-A95
    • Part Notes: W/Captain Seats, Seat Cushion Components, Outer, Cocoa
    • Location: Driver Side
    MSRP: $2.37 Your Price: $1.60
    1
    Add To Cart
  • 17 Buick 22964645 Trim Panel
    22964645
    Trim Panel
    Panel, Front Bucket Midlevel-A95
    • Part Notes: W/Captain Seats, Seat Cushion Components, Outer, Cocoa
    • Location: Passenger Side
    MSRP: $7.95 Your Price: $5.34
  • 18 Buick 25797930 Armrest Cover
    25797930
    Armrest Cover
    Cover, Armrest
    • Part Notes: Seat Back Components, Left Side, Titanium
    • Location: Driver Side
    MSRP: $57.94 Your Price: $38.93
    1
    Add To Cart
  • 18 Buick 25797932 Armrest Cover
    25797932
    Armrest Cover
    Cover, Armrest
    • Part Notes: Seat Back Components, Left Side, Ebony
    • Location: Driver Side
    MSRP: $14.62 Your Price: $9.82
    1
    Add To Cart
  • 18 Buick 15901213 Trim Panel
    15901213
    Trim Panel
    Panel, Seat Cushion
    • Part Notes: Seat Cushion Components, Right Side, Inner, Ebony;W/Captain Seats, Seat Cushion Components, Inner, Ebony
    • Location: Passenger Side
  • 18 Buick 15901215 Trim Panel
    15901215
    Trim Panel
    Panel, Am4 - Rear Folding Split Back Bench Seat
    • Part Notes: Seat Cushion Components, Right Side, Inner, Titanium;W/Captain Seats, Seat Cushion Components, Inner, Titanium
    • Location: Passenger Side
    MSRP: $8.49 Your Price: $5.70
    1
    Add To Cart
  • 18 Buick 15901217 Trim Panel
    15901217
    Trim Panel
    Panel, Front Bucket Midlevel-A95
    • Part Notes: Seat Cushion Components, Left Side, Inner, Ebony;W/Captain Seats, Seat Cushion Components, Inner, Ebony
    • Location: Driver Side
    Your Price: $13.11
    1
    Add To Cart
  • 18 Buick 15901219 Trim Panel
    15901219
    Trim Panel
    Cover, Seat Cushion
    • Part Notes: Seat Cushion Components, Left Side, Inner, Titanium;W/Captain Seats, Seat Cushion Components, Inner, Titanium
    • Location: Driver Side
    MSRP: $8.27 Your Price: $5.56
    1
    Add To Cart
  • 18 Buick 22964647 Trim Panel
    22964647
    Trim Panel
    Panel, Front Bucket Midlevel-A95
    • Part Notes: W/Captain Seats, Seat Cushion Components, Inner, Cocoa
    • Location: Driver Side
    MSRP: $20.18 Your Price: $13.56
    1
    Add To Cart
  • 18 Buick 22964649 Trim Panel
    22964649
    Trim Panel
    Panel, Front Bucket Midlevel-A95
    • Part Notes: W/Captain Seats, Seat Cushion Components, Inner, Cocoa
    • Location: Passenger Side
  • 19 Buick 22759070 Anchor Cover
    22759070
    Anchor Cover
    Cover, Seat Adjuster/Recliner
    • Part Notes: Seat Cushion Components, Right Side, Ebony;W/Captain Seats, Seat Cushion Components, Ebony
    • Location: Passenger Side
    MSRP: $10.46 Your Price: $6.67
    1
    Add To Cart
  • 19 Buick 22759072 Anchor Cover
    22759072
    Anchor Cover
    Cover, Seat Adjuster/Recliner
    • Part Notes: Seat Cushion Components, Right Side, Titanium;W/Captain Seats, Seat Cushion Components, Titanium
    • Location: Passenger Side
    MSRP: $45.15 Your Price: $30.34
    1
    Add To Cart
  • 19 Buick 22759081 Anchor Cover
    22759081
    Anchor Cover
    Cover, Seat Adjuster/Recliner
    • Part Notes: W/Captain Seats, Seat Cushion Components, Ebony
    • Location: Driver Side
    Your Price: $13.11
    1
    Add To Cart
  • 19 Buick 22759083 Anchor Cover
    22759083
    Anchor Cover
    Cover, Seat Adjuster/Recliner
    • Part Notes: W/Captain Seats, Seat Cushion Components, Titanium
    • Location: Driver Side
    MSRP: $20.05 Your Price: $13.29
    1
    Add To Cart
  • 19 Buick 22759088 Anchor Cover
    22759088
    Anchor Cover
    Cover, Seat Adjuster/Recliner
    • Part Notes: Seat Cushion Components, Left Side, Ebony
    • Location: Driver Side
    MSRP: $10.61 Your Price: $6.78
    1
    Add To Cart
  • 19 Buick 22759090 Anchor Cover
    22759090
    Anchor Cover
    Cover, Seat Adjuster/Recliner
    • Part Notes: Seat Cushion Components, Left Side, Titanium
    • Location: Driver Side
    MSRP: $36.63 Your Price: $24.62
    1
    Add To Cart
  • 19 Buick 22960115 Anchor Cover
    22960115
    Anchor Cover
    Cover, Seat Adjuster/Recliner
    • Part Notes: W/Captain Seats, Seat Cushion Components, Cocoa
    • Location: Driver Side
    MSRP: $14.72 Your Price: $9.89
    1
    Add To Cart
  • 19 Buick 22960117 Anchor Cover
    22960117
    Anchor Cover
    Cover, Seat Adjuster/Recliner
    • Part Notes: W/Captain Seats, Seat Cushion Components, Cocoa
    • Location: Passenger Side
    MSRP: $39.69 Your Price: $26.68
    1
    Add To Cart
  • 19
    15901767
    Bezel
    Bezel, Seat Cushion
    • Part Notes: Seat Back Components, Left Side, Outer, Ebony
    • Location: Driver Side
  • 19 Buick 25900252 Bezel
    25900252
    Bezel
    Bezel, Seat Cushion
    • Part Notes: Seat Back Components, Left Side, Outer, Titanium
    • Location: Driver Side
  • 20 Buick 15901466 Bezel
    15901466
    Bezel
    Bezel, Seat Cushion
    • Part Notes: Seat Back Components, Left Side, Inner
    • Location: Driver Side
    Your Price: $13.11
    1
    Add To Cart
  • 20 Buick 15900400 Recline Cover
    15900400
    Recline Cover
    Cover, Seat Adjuster/Recliner
    • Part Notes: Seat Cushion Components, Right Side, Outer-Upper, Ebony;W/Captain Seats, Seat Cushion Components, Outer-Upper, Ebony
    • Location: Passenger Side
    MSRP: $16.77 Your Price: $13.11
    1
    Add To Cart
  • 20 Buick 15900402 Recline Cover
    15900402
    Recline Cover
    Cover, Seat Back Cushion
    • Part Notes: Seat Cushion Components, Right Side, Outer-Upper, Titanium;W/Captain Seats, Seat Cushion Components, Outer-Upper, Titanium
    • Location: Passenger Side
    MSRP: $17.02 Your Price: $11.44
    1
    Add To Cart
  • 20 Buick 15900408 Recline Cover
    15900408
    Recline Cover
    Cover, Seat Adjuster/Recliner
    • Part Notes: W/Captain Seats, Seat Cushion Components, Outer-Upper, Ebony
    • Location: Driver Side
    MSRP: $17.45 Your Price: $11.73
    1
    Add To Cart
  • 20 Buick 15900410 Recline Cover
    15900410
    Recline Cover
    Cover, Seat Back Cushion
    • Part Notes: W/Captain Seats, Seat Cushion Components, Outer-Upper, Titanium
    • Location: Driver Side
    MSRP: $8.18 Your Price: $5.50
    1
    Add To Cart
  • 20 Buick 15901555 Recline Cover
    15901555
    Recline Cover
    Cover, Seat Adjuster/Recliner
    • Part Notes: Seat Cushion Components, Left Side, Outer, Ebony
    • Location: Driver Side
    Your Price: $13.11
    1
    Add To Cart
  • 20 Buick 15901557 Recline Cover
    15901557
    Recline Cover
    Cover, Seat Adjuster/Recliner
    • Part Notes: Seat Cushion Components, Left Side, Outer, Titanium
    • Location: Driver Side
    MSRP: $45.91 Your Price: $30.86
    1
    Add To Cart
  • 20 Buick 22960107 Recline Cover
    22960107
    Recline Cover
    Cover-Rear Seat Reclining Inner Finish *Cocoa
    • Part Notes: W/Captain Seats, Seat Cushion Components, Outer-Upper, Cocoa
    • Location: Driver Side
    MSRP: $10.68 Your Price: $7.18
    1
    Add To Cart
  • 20 Buick 22960109 Recline Cover
    22960109
    Recline Cover
    Cover-Rear Seat Reclining Inner Finish *Cocoa
    • Part Notes: W/Captain Seats, Seat Cushion Components, Outer-Upper, Cocoa
    • Location: Passenger Side
    MSRP: $10.67 Your Price: $7.18
    1
    Add To Cart
  • 21 Buick 15900492 Recline Cover
    15900492
    Recline Cover
    Cover, Seat Adjuster/Recliner
    • Part Notes: Seat Back Components, Left Side, Ebony
    • Location: Driver Side
    MSRP: $64.81 Your Price: $43.55
    1
    Add To Cart
  • 21 Buick 15900496 Recline Cover
    15900496
    Recline Cover
    Cover, Seat Adjuster/Recliner
    • Part Notes: Seat Cushion Components, Left Side, Inner, Ebony
    • Location: Driver Side
    MSRP: $35.29 Your Price: $22.87
    1
    Add To Cart
  • 21 Buick 15901231 Recline Cover
    15901231
    Recline Cover
    Cover, Seat Adjuster/Recliner
    • Part Notes: Seat Cushion Components, Right Side, Inner-Upper, Ebony;W/Captain Seats, Seat Cushion Components, Inner-Upper, Ebony
    • Location: Passenger Side
  • 21 Buick 15901233 Recline Cover
    15901233
    Recline Cover
    Cover, Seat Adjuster/Recliner
    • Part Notes: Seat Cushion Components, Right Side, Inner-Upper, Titanium;W/Captain Seats, Seat Cushion Components, Inner-Upper, Titanium
    • Location: Passenger Side
    MSRP: $8.37 Your Price: $5.62
    1
    Add To Cart
  • 21 Buick 15901244 Recline Cover
    15901244
    Recline Cover
    Cover, Seat Adjuster/Recliner
    • Part Notes: W/Captain Seats, Seat Cushion Components, Inner-Upper, Ebony
    • Location: Driver Side
    MSRP: $16.39 Your Price: $11.02
    1
    Add To Cart
  • 21 Buick 15901246 Recline Cover
    15901246
    Recline Cover
    Cover, Seat Back Cushion
    • Part Notes: W/Captain Seats, Seat Cushion Components, Inner-Upper, Titanium
    • Location: Driver Side
  • 21 Buick 22960103 Recline Cover
    22960103
    Recline Cover
    Cover-Rear Seat Reclining Inner Finish *Cocoa
    • Part Notes: W/Captain Seats, Seat Cushion Components, Inner-Upper, Cocoa
    • Location: Driver Side
    MSRP: $18.90 Your Price: $12.70
    1
    Add To Cart
  • 21 Buick 25964003 Recline Cover
    25964003
    Recline Cover
    Cover, Seat Adjuster/Recliner
    • Part Notes: Seat Cushion Components, Left Side, Inner, Titanium
    • Location: Driver Side
    MSRP: $8.82 Your Price: $5.92
    1
    Add To Cart
  • 22 Buick 15901520 Recline Cover
    15901520
    Recline Cover
    Cover, Seat Adjuster/Recliner
    • Part Notes: Seat Cushion Components, Right Side, Outer-Lower, Ebony;W/Captain Seats, Seat Cushion Components, Outer-Lower, Ebony
    • Location: Passenger Side
    MSRP: $10.86 Your Price: $7.30
  • 22 Buick 15901522 Recline Cover
    15901522
    Recline Cover
    Cover, Seat Adjuster/Recliner
    • Part Notes: W/Captain Seats, Seat Cushion Components, Outer-Lower, Titanium
    • Location: Passenger Side
    MSRP: $46.47 Your Price: $24.36
    1
    Add To Cart
  • 22 Buick 15901543 Recline Cover
    15901543
    Recline Cover
    Cover, Seat Adjuster/Recliner
    • Part Notes: W/Captain Seats, Seat Cushion Components, Outer-Lower, Ebony
    • Location: Driver Side
  • 22 Buick 15901545 Recline Cover
    15901545
    Recline Cover
    Cover, Seat Adjuster/Recliner
    • Part Notes: W/Captain Seats, Seat Cushion Components, Outer-Lower, Titanium
    • Location: Driver Side
  • 22 Buick 22960111 Recline Cover
    22960111
    Recline Cover
    Cover, Seat Adjuster/Recliner
    • Part Notes: W/Captain Seats, Seat Cushion Components, Outer-Lower, Cocoa
    • Location: Driver Side
    MSRP: $10.70 Your Price: $7.19
    1
    Add To Cart
  • 22 Buick 22960113 Recline Cover
    22960113
    Recline Cover
    Cover, Seat Adjuster/Recliner
    • Part Notes: W/Captain Seats, Seat Cushion Components, Outer-Lower, Cocoa
    • Location: Passenger Side
    MSRP: $5.44 Your Price: $3.65
    1
    Add To Cart
  • 22 Buick 25900205 Recline Cover
    25900205
    Recline Cover
    Cover, Seat Adjuster/Recliner
    • Part Notes: Seat Cushion Components, Right Side, Outer-Lower, Titanium
    • Location: Passenger Side
  • 22 Buick 23191929 Seat Adjuster
    23191929
    Seat Adjuster
    Adjuster Assembly-Rear Seat
    • Part Notes: Seat Cushion Components, Left Side
    • Location: Driver Side
    MSRP: $471.47 Your Price: $315.41
    1
    Add To Cart
  • 23 Buick 15900404 Recline Cover
    15900404
    Recline Cover
    Cover, Seat Adjuster/Recliner
    • Part Notes: W/Captain Seats, Seat Cushion Components, Inner-Lower, Ebony
    • Location: Passenger Side
    MSRP: $104.97 Your Price: $70.54
    1
    Add To Cart
  • 23 Buick 15900406 Recline Cover
    15900406
    Recline Cover
    Cover, Seat Adjuster/Recliner
    • Part Notes: W/Captain Seats, Seat Cushion Components, Inner-Lower, Titanium
    • Location: Passenger Side
    MSRP: $74.97 Your Price: $46.77
    1
    Add To Cart
  • 23 Buick 15900412 Recline Cover
    15900412
    Recline Cover
    Cover, Seat Adjuster/Recliner
    • Part Notes: W/Captain Seats, Seat Cushion Components, Inner-Lower, Ebony
    • Location: Driver Side
    MSRP: $15.61 Your Price: $10.49
    1
    Add To Cart
  • 23 Buick 15900414 Recline Cover
    15900414
    Recline Cover
    Cover, Seat Back Cushion
    • Part Notes: W/Captain Seats, Seat Cushion Components, Inner-Lower, Titanium
    • Location: Driver Side
    MSRP: $78.72 Your Price: $52.90
    1
    Add To Cart
  • 23 Buick 15901213 Recline Cover
    15901213
    Recline Cover
    Panel, Seat Cushion
    • Part Notes: Seat Cushion Components, Right Side, Inner-Lower, Ebony
    • Location: Passenger Side
  • 23 Buick 15901215 Recline Cover
    15901215
    Recline Cover
    Panel, Am4 - Rear Folding Split Back Bench Seat
    • Part Notes: Seat Cushion Components, Right Side, Inner-Lower, Titanium
    • Location: Passenger Side
    MSRP: $8.49 Your Price: $5.70
    1
    Add To Cart
  • 23 Buick 22960098 Recline Cover
    22960098
    Recline Cover
    Cover-Rear Seat Reclining Inner Finish *Cocoa
    • Part Notes: W/Captain Seats, Seat Cushion Components, Inner-Lower, Cocoa
    • Location: Driver Side
    MSRP: $20.51 Your Price: $13.30
    1
    Add To Cart
  • 24 Buick 25797938 Front Cover
    25797938
    Front Cover
    Cover, Seat Back Cushion
    • Part Notes: Seat Cushion Components, Left Side, Inner, Titanium
    • Location: Driver Side
    Your Price: $13.11
    1
    Add To Cart
  • 24 Buick 25797940 Front Cover
    25797940
    Front Cover
    Cover, Seat Back Cushion
    • Part Notes: Seat Cushion Components, Left Side, Inner, Ebony
    • Location: Driver Side
  • 24 Buick 25797944 Front Cover
    25797944
    Front Cover
    Cover, Seat Back Cushion
    • Part Notes: Seat Cushion Components, Left Side, Outer, Ebony
    • Location: Driver Side
    Your Price: $13.11
    1
    Add To Cart
  • 24 Buick 20916160 Seat Adjuster
    20916160
    Seat Adjuster
    Adjuster Assembly-Rear Seat
    • Part Notes: W/Captain Seats, Seat Cushion Components
    • Location: Driver Side
    MSRP: $405.77 Your Price: $271.46
  • 24 Buick 23191928 Seat Adjuster
    23191928
    Seat Adjuster
    Adjuster Assembly-Rear Seat
    • Part Notes: Seat Cushion Components, Right Side;W/Captain Seats, Seat Cushion Components
    • Location: Passenger Side
    MSRP: $843.47 Your Price: $445.98
    1
    Add To Cart
  • 25 Buick 15901787 Rear Panel
    15901787
    Rear Panel
    Panel, Seat Back Cushion
    • Part Notes: Seat Cushion Components, Left Side, Ebony
    • Location: Driver Side
    MSRP: $12.72 Your Price: $8.55
    1
    Add To Cart
  • 25 Buick 15901789 Rear Panel
    15901789
    Rear Panel
    Panel, Seat Back Cushion
    • Part Notes: Seat Cushion Components, Left Side, Titanium
    • Location: Driver Side
  • 26 Buick 15899655 Cable
    15899655
    Cable
    Cable Assembly-Rear Seat Latch
    • Part Notes: Seat Cushion Components, Left Side
    • Location: Driver Side
  • 26 Buick 22964653 Front Cover
    22964653
    Front Cover
    Cover, Seat Back Cushion
    • Part Notes: W/Captain Seats, Seat Cushion Components, Inner, Cocoa
    • Location: Driver Side;Passenger Side
    MSRP: $24.82 Your Price: $16.68
    1
    Add To Cart
  • 26 Buick 25797938 Front Cover
    25797938
    Front Cover
    Cover, Seat Back Cushion
    • Part Notes: Seat Cushion Components, Right Side, Inner, Titanium;W/Captain Seats, Seat Cushion Components, Inner, Titanium
    • Location: Driver Side;Passenger Side
    Your Price: $13.11
    1
    Add To Cart
  • 26 Buick 25797940 Front Cover
    25797940
    Front Cover
    Cover, Seat Back Cushion
    • Part Notes: Seat Cushion Components, Right Side, Inner, Ebony;W/Captain Seats, Seat Cushion Components, Inner, Ebony
    • Location: Driver Side;Passenger Side
  • 26 Buick 25797942 Front Cover
    25797942
    Front Cover
    Cover, Seat Back Cushion
    • Part Notes: Seat Cushion Components, Right Side, Outer, Titanium;W/Captain Seats, Seat Cushion Components, Outer, Titanium
    • Location: Driver Side;Passenger Side
    MSRP: $8.07 Your Price: $5.40
    1
    Add To Cart
  • 26 Buick 25797944 Front Cover
    25797944
    Front Cover
    Cover, Seat Back Cushion
    • Part Notes: Seat Cushion Components, Right Side, Outer, Ebony;W/Captain Seats, Seat Cushion Components, Outer, Ebony
    • Location: Driver Side;Passenger Side
    Your Price: $13.11
    1
    Add To Cart
  • 27 Buick 15901529 Rear Cover
    15901529
    Rear Cover
    Panel, Seat Back Cushion
    • Part Notes: Seat Cushion Components, Right Side, Ebony;W/Captain Seats, Seat Cushion Components, Ebony
    • Location: Passenger Side
    MSRP: $11.87 Your Price: $7.97
    1
    Add To Cart
  • 27 Buick 15901531 Rear Cover
    15901531
    Rear Cover
    Panel, Seat Back Cushion
    • Part Notes: Seat Cushion Components, Right Side, Titanium
    • Location: Passenger Side
    MSRP: $33.99 Your Price: $22.85
    1
    Add To Cart
  • 27 Buick 15901551 Rear Panel
    15901551
    Rear Panel
    Panel, Seat Back Cushion
    • Part Notes: W/Captain Seats, Seat Cushion Components, Ebony
    • Location: Driver Side
    MSRP: $10.28 Your Price: $6.56
    1
    Add To Cart
  • 27 Buick 15901553 Rear Panel
    15901553
    Rear Panel
    Panel, Seat Back Cushion
    • Part Notes: W/Captain Seats, Seat Cushion Components, Titanium
    • Location: Driver Side
    MSRP: $20.02 Your Price: $13.45
    1
    Add To Cart
  • 27 Buick 22964627 Rear Panel
    22964627
    Rear Panel
    Panel, Seat Back Cushion
    • Part Notes: W/Captain Seats, Seat Cushion Components, Cocoa
    • Location: Driver Side
    MSRP: $49.94 Your Price: $33.57
    1
    Add To Cart
  • 27 Buick 22964629 Rear Panel
    22964629
    Rear Panel
    Panel, Seat Back Cushion
    • Part Notes: W/Captain Seats, Seat Cushion Components, Cocoa
    • Location: Passenger Side
    MSRP: $66.14 Your Price: $44.45
    1
    Add To Cart
  • 27 Buick 25979512 Rear Panel
    25979512
    Rear Panel
    Panel, Rear Seat Back To Quarter Panel
    • Part Notes: W/Captain Seats, Seat Cushion Components, Titanium
    • Location: Passenger Side
  • 27 Buick 25867463 Track Cover
    25867463
    Track Cover
    Cover-Rear Seat Track Front Outboard *Ebony
    • Part Notes: Seat Cushion Components, Left Side, Front, Outer, Ebony
    • Location: Driver Side
    MSRP: $83.98 Your Price: $56.44
    1
    Add To Cart
  • 27 Buick 25867464 Track Cover
    25867464
    Track Cover
    Cover, Seat Adjuster/Recliner
    • Part Notes: Seat Cushion Components, Left Side, Front, Outer, Titanium
    • Location: Driver Side
  • 28 Buick 15899655 Cable
    15899655
    Cable
    Cable Assembly-Rear Seat Latch
    • Part Notes: Seat Cushion Components, Right Side;W/Captain Seats, Seat Cushion Components
    • Location: Driver Side;Passenger Side
  • 28 Buick 25867483 Track Cover
    25867483
    Track Cover
    Cover, Seat Adjuster/Recliner
    • Part Notes: Seat Cushion Components, Left Side, Front, Inner, Ebony
    • Location: Driver Side
    MSRP: $85.40 Your Price: $57.39
  • 28 Buick 25867484 Track Cover
    25867484
    Track Cover
    Cover, Seat Adjuster/Recliner
    • Part Notes: Seat Cushion Components, Left Side, Front, Inner, Titanium
    • Location: Driver Side
  • 29 Buick 23138057 Track Cover
    23138057
    Track Cover
    Cover, Seat Adjuster/Recliner
    • Part Notes: W/Captain Seats, Seat Cushion Components, Front, Outer, Cocoa
    • Location: Driver Side
    MSRP: $35.53 Your Price: $22.68
    1
    Add To Cart
  • 29 Buick 23138065 Track Cover
    23138065
    Track Cover
    Cover, Seat Adjuster/Recliner
    • Part Notes: W/Captain Seats, Seat Cushion Components, Front, Outer, Cocoa
    • Location: Passenger Side
    MSRP: $11.43 Your Price: $7.68
    1
    Add To Cart
  • 29 Buick 25863766 Track Cover
    25863766
    Track Cover
    Cover-Rear Seat Track Rear Outboard *Ebony
    • Part Notes: Seat Cushion Components, Left Side, Rear, Outer, Ebony
    • Location: Driver Side
  • 29 Buick 25863767 Track Cover
    25863767
    Track Cover
    Cover, Seat Adjuster/Recliner
    • Part Notes: Seat Cushion Components, Left Side, Rear, Outer, Titanium
    • Location: Driver Side
    MSRP: $93.85 Your Price: $63.07
    1
    Add To Cart
  • 29 Buick 25867439 Track Cover
    25867439
    Track Cover
    Cover-Rear Seat Track Front Outboard *Ebony
    • Part Notes: W/Captain Seats, Seat Cushion Components, Front, Outer, Ebony
    • Location: Driver Side
  • 29 Buick 25867440 Track Cover
    25867440
    Track Cover
    Cover, Seat Adjuster/Recliner
    • Part Notes: W/Captain Seats, Seat Cushion Components, Front, Outer, Titanium
    • Location: Driver Side
  • 29 Buick 25867467 Track Cover
    25867467
    Track Cover
    Cover-Rear Seat Track Front Outboard *Ebony
    • Part Notes: Seat Cushion Components, Right Side, Front, Outer, Ebony;W/Captain Seats, Seat Cushion Components, Front, Outer, Ebony
    • Location: Passenger Side
    MSRP: $86.42 Your Price: $58.07
    1
    Add To Cart
  • 29 Buick 25867468 Track Cover
    25867468
    Track Cover
    Cover, Seat Adjuster/Recliner
    • Part Notes: Seat Cushion Components, Right Side, Front, Outer, Titanium;W/Captain Seats, Seat Cushion Components, Front, Outer, Titanium
    • Location: Passenger Side
  • 30 Buick 23138059 Track Cover
    23138059
    Track Cover
    Cover, Seat Adjuster/Recliner
    • Part Notes: W/Captain Seats, Seat Cushion Components, Front, Inner, Cocoa
    • Location: Driver Side
    MSRP: $37.88 Your Price: $25.46
    1
    Add To Cart
  • 30 Buick 23138067 Track Cover
    23138067
    Track Cover
    Cover, Seat Adjuster/Recliner
    • Part Notes: W/Captain Seats, Seat Cushion Components, Front, Inner, Cocoa
    • Location: Passenger Side
    MSRP: $25.29 Your Price: $16.99
    1
    Add To Cart
  • 30 Buick 25867427 Track Cover
    25867427
    Track Cover
    Cover-Rear Seat Track Front Inboard *Ebony
    • Part Notes: W/Captain Seats, Seat Cushion Components, Front, Inner, Ebony;W/Captain Seats, Seat Cushion Components, Front, Inner, Titanium
    • Location: Passenger Side
  • 30 Buick 25867447 Track Cover
    25867447
    Track Cover
    Cover-Rear Seat Track Front Inboard *Ebony
    • Part Notes: W/Captain Seats, Seat Cushion Components, Front, Inner, Ebony
    • Location: Driver Side
  • 30 Buick 25867448 Track Cover
    25867448
    Track Cover
    Cover, Seat Adjuster/Recliner
    • Part Notes: W/Captain Seats, Seat Cushion Components, Front, Inner, Titanium
    • Location: Driver Side
    MSRP: $88.30 Your Price: $59.34
    1
    Add To Cart
  • 30 Buick 25867455 Track Cover
    25867455
    Track Cover
    Cover, Seat Adjuster/Recliner
    • Part Notes: Seat Cushion Components, Right Side, Front, Inner, Ebony
    • Location: Passenger Side
    MSRP: $74.08 Your Price: $49.78
    1
    Add To Cart
  • 30 Buick 25867456 Track Cover
    25867456
    Track Cover
    Cover, Seat Adjuster/Recliner
    • Part Notes: Seat Cushion Components, Right Side, Front, Inner, Titanium
    • Location: Passenger Side
    MSRP: $45.23 Your Price: $28.90
    1
    Add To Cart
  • 30 Buick 25867459 Track Cover
    25867459
    Track Cover
    Cover, Seat Adjuster/Recliner
    • Part Notes: Seat Cushion Components, Left Side, Rear, Inner, Ebony
    • Location: Driver Side
    MSRP: $63.92 Your Price: $42.95
  • 30 Buick 25867460 Track Cover
    25867460
    Track Cover
    Cover, Seat Adjuster/Recliner
    • Part Notes: Seat Cushion Components, Left Side, Rear, Inner, Titanium
    • Location: Driver Side
    MSRP: $43.34 Your Price: $29.12
    1
    Add To Cart
  • 31 Buick 23138061 Track Cover
    23138061
    Track Cover
    Cover, Seat Adjuster/Recliner
    • Part Notes: W/Captain Seats, Seat Cushion Components, Rear, Outer, Cocoa
    • Location: Driver Side
    MSRP: $29.64 Your Price: $19.92
    1
    Add To Cart
  • 31 Buick 23138069 Track Cover
    23138069
    Track Cover
    Cover, Seat Adjuster/Recliner
    • Part Notes: W/Captain Seats, Seat Cushion Components, Rear, Outer, Cocoa
    • Location: Passenger Side
    MSRP: $13.19 Your Price: $8.86
    1
    Add To Cart
  • 31 Buick 25863770 Track Cover
    25863770
    Track Cover
    Cover-Rear Seat Track Rear Outboard *Ebony
    • Part Notes: W/Captain Seats, Seat Cushion Components, Rear, Outer, Ebony
    • Location: Driver Side
  • 31 Buick 25863771 Track Cover
    25863771
    Track Cover
    Cover, Seat Adjuster/Recliner
    • Part Notes: W/Captain Seats, Seat Cushion Components, Rear, Outer, Titanium
    • Location: Driver Side
    MSRP: $54.58 Your Price: $36.68
    1
    Add To Cart
  • 31 Buick 25863774 Track Cover
    25863774
    Track Cover
    Cover-Rear Seat Track Rear Outboard *Ebony
    • Part Notes: Seat Cushion Components, Right Side, Rear, Outer, Ebony;W/Captain Seats, Seat Cushion Components, Rear, Outer, Ebony
    • Location: Passenger Side
    MSRP: $113.82 Your Price: $76.48
    1
    Add To Cart
  • 31 Buick 25863775 Track Cover
    25863775
    Track Cover
    Cover, Seat Adjuster/Recliner
    • Part Notes: Seat Cushion Components, Right Side, Rear, Outer, Titanium;W/Captain Seats, Seat Cushion Components, Rear, Outer, Titanium
    • Location: Passenger Side
    MSRP: $26.45 Your Price: $21.42
    1
    Add To Cart
  • 32 Buick 23138063 Track Cover
    23138063
    Track Cover
    Cover, Rear Seat Adjuster/Recliner
    • Part Notes: W/Captain Seats, Seat Cushion Components, Rear, Inner, Cocoa
    • Location: Driver Side
    MSRP: $80.37 Your Price: $54.01
    1
    Add To Cart
  • 32 Buick 23138071 Track Cover
    23138071
    Track Cover
    Cover, Seat Adjuster/Recliner
    • Part Notes: W/Captain Seats, Seat Cushion Components, Rear, Inner, Cocoa
    • Location: Passenger Side
    MSRP: $29.11 Your Price: $19.56
    1
    Add To Cart
  • 32 Buick 25818262 Track Cover
    25818262
    Track Cover
    Cover, Rear Seat Adjuster/Recliner
    • Part Notes: Seat Cushion Components, Right Side, Rear, Inner, Titanium
    • Location: Passenger Side
    MSRP: $12.38 Your Price: $8.32
    1
    Add To Cart
  • 32 Buick 25867422 Track Cover
    25867422
    Track Cover
    Cover, Seat Adjuster/Recliner
    • Part Notes: W/Captain Seats, Seat Cushion Components, Rear, Inner, Ebony
    • Location: Passenger Side
    MSRP: $81.90 Your Price: $55.04
    1
    Add To Cart
  • 32 Buick 25867423 Track Cover
    25867423
    Track Cover
    Cover, Seat Adjuster/Recliner
    • Part Notes: W/Captain Seats, Seat Cushion Components, Rear, Inner, Titanium
    • Location: Passenger Side
  • 32 Buick 25867435 Track Cover
    25867435
    Track Cover
    Cover, Seat Adjuster/Recliner
    • Part Notes: W/Captain Seats, Seat Cushion Components, Rear, Inner, Ebony
    • Location: Driver Side
  • 32 Buick 25867436 Track Cover
    25867436
    Track Cover
    Cover, Seat Adjuster/Recliner
    • Part Notes: W/Captain Seats, Seat Cushion Components, Rear, Inner, Titanium
    • Location: Driver Side
  • 32 Buick 25867451 Track Cover
    25867451
    Track Cover
    Cover, Seat Adjuster/Recliner
    • Part Notes: Seat Cushion Components, Right Side, Rear, Inner, Ebony
    • Location: Passenger Side
    MSRP: $65.52 Your Price: $44.03
    1
    Add To Cart