Original OEM GM parts deliver superior quality and meet all performance standards needed for optimal automotive operation. The authentic part identified by 42680785 Headlamp Assembly, Front Driver Side is available in the market under the name GM Headlight. This genuine product has a full warranty coverage from the manufacturer available at all authorized GM dealers throughout the United States. This part 42680785 Headlamp Assembly, Front Driver Side fits certain Chevrolet Cruze models.
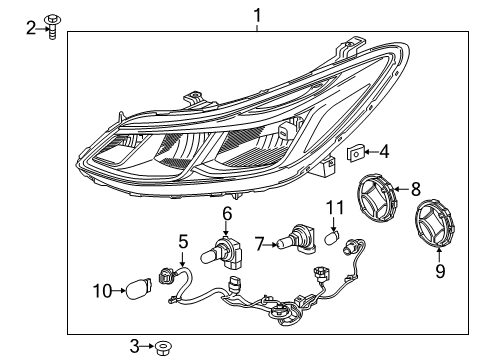
The original GM component designated by Manufacturer Part Number 42680785 maintains top performance when functioning as the Headlamp Assembly-Front; Headlight unit at its Front Driver Side. The component 42680785 is constructed from durable material and its dimensions span 35.0 x 17.0 x 13.2 inches while weighing 7.00 Pounds. The Direct Replacement component is ready in New condition to ensure full compatibility with your vehicle system. This component receives the designation of Composite Headlamp; Headlamp, Capsule/Headlamp/Fog Lamp. The part 42680785 has available replacement options 84346647, 84106694, 84063576, 84156515. GM manufacturer provides a warranty that ensures reliable operation of this product. The Shipping Policy and Return Policy pages outline complete details regarding shipping procedures and return processes.
The GM part 42680785 Headlamp Assembly, Front Driver Side stands vital for road safety because it requires routine maintenance as well as proper alignment. Regular inspection of headlight alignment must be performed at least yearly for both safety and visibility purposes following any new lamp or repair work on the front end area. To perform basic setup on the headlight housing, vertical screws positioned on top allow users to adjust the beam direction following the use of masking tape on a wall that marks vehicle centerline and headlight locations. A vehicle should be positioned 25 feet away from the wall on flat ground while carrying half a full fuel tank after finding proper level ground with half-a-full fuel tank. Low beam light should be set at two inches beneath the horizontal alignment while high beam intensity should lie directly underneath. Expert assistance should be obtained for achieving the optimal possible performance. OEM part selection of the specific 42680785 from GM provides factory-compliant components that make the installation process straightforward. Our site presents customers with a large assortment of real GM parts that includes the Headlamp Assembly, Front Driver Side with manufacturer warranties for your peace of mind at affordable prices.










