2008 Saturn Outlook Parts

Change Vehicle
Categories
  • A/C & Heating
  • Air & Fuel Delivery
  • Belts & Cooling
  • Body & Hardware
  • Brakes
  • Charging & Starting
  • Driveline & Axles
  • Electrical
  • Emission Control & Exhaust
  • Engine
  • Headlights & Lighting
  • Interior & Exterior Trim
  • Maintenance & Lubrication
  • Steering
  • Suspension
  • Transmission
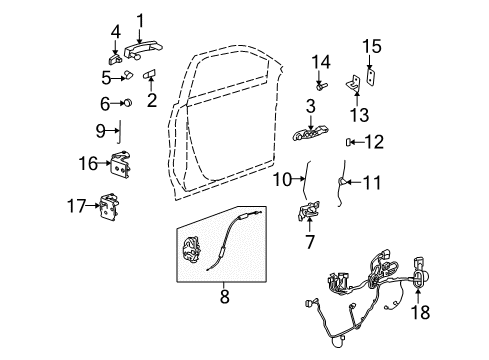
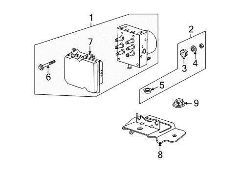
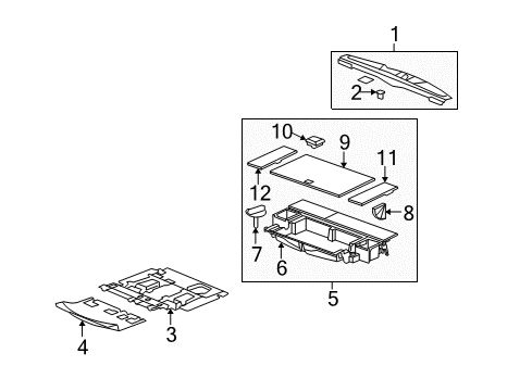
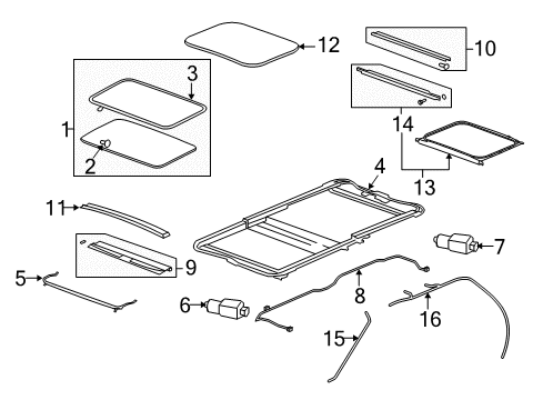
Parts and Categories