2007 Cadillac Escalade EXT Parts

Change Vehicle
Categories
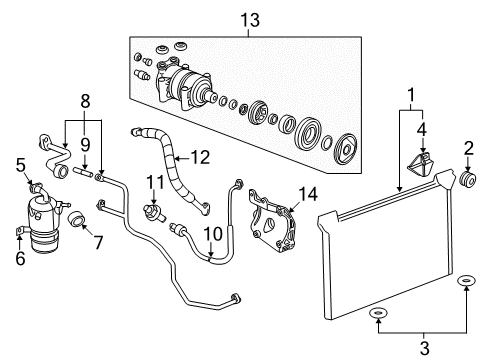
  • A/C & Heating
  • Air & Fuel Delivery
  • Belts & Cooling
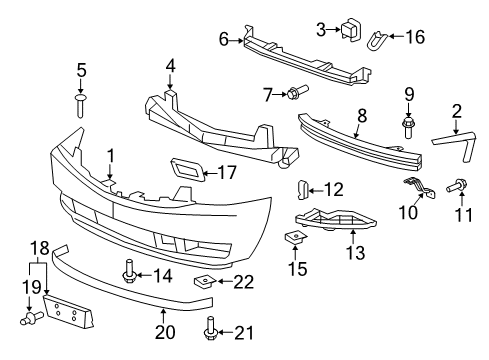
  • Body & Hardware
  • Brakes
  • Charging & Starting
  • Driveline & Axles
  • Electrical
  • Emission Control & Exhaust
  • Engine
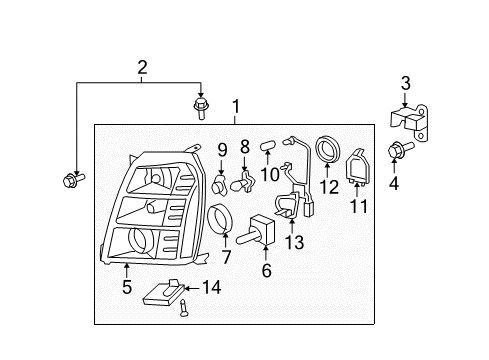
  • Headlights & Lighting
  • Interior & Exterior Trim
  • Maintenance & Lubrication
  • Steering
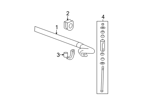
  • Suspension
  • Transmission
Parts and Categories