Menu
×
  • Hello
  • Login or Register
  • Quick Links
  • Live Chat
  • Track Order
  • Parts Availability
  • RMA
  • Help Center
  • Contact Us
  • Shop for
  • Buick Parts
  • Cadillac Parts
  • Chevrolet Parts
  • GMC Parts
  • Hummer Parts
  • Oldsmobile Parts
  • Pontiac Parts
  • Saturn Parts
ChevyParts
Search Bar
Search by Part Number, Part Name, or Vehicle
My Garage
My Account
Cart
  • Buick Parts
  • Cadillac Parts
  • Chevrolet Parts
  • GMC Parts
  • GM Parts
    • Hummer Parts
    • Oldsmobile Parts
    • Pontiac Parts
    • Saturn Parts
Help Center Contact Us
Home > Saturn > SC1 > 1996
How to use OE catalog

1996 Saturn SC1 Parts

Change Vehicle
Categories
  • A/C & Heating
  • Air & Fuel Delivery
  • Belts & Cooling
  • Body & Hardware
  • Brakes
  • Electrical
  • Emission Control & Exhaust
  • Headlights & Lighting
  • Interior & Exterior Trim
  • Maintenance & Lubrication
  • Steering
  • Suspension
Parts and Categories
  • A/C & Heating
    • 1996 Saturn SC1 A/C & Heater Control Units Diagram
      A/C & Heater Control Units
    • 1996 Saturn SC1 A/C Condenser, Compressor & Lines Diagram
      A/C Condenser, Compressor & Lines
    • 1996 Saturn SC1 Air Conditioner Diagram
      Air Conditioner
  • Air & Fuel Delivery
    • 1996 Saturn SC1 Air Inlet Diagram
      Air Inlet
    • 1996 Saturn SC1 Cruise Control System Diagram
      Cruise Control System
    • 1996 Saturn SC1 Fuel Injection Diagram
      Fuel Injection
    • 1996 Saturn SC1 Fuel Supply Diagram
      Fuel Supply
    • 1996 Saturn SC1 Fuel System Components Diagram
      Fuel System Components
  • Belts & Cooling
    • 1996 Saturn SC1 Radiator & Components, Cooling Fan Diagram
      Radiator & Components, Cooling Fan
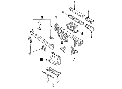
    • 1996 Saturn SC1 Radiator Support Diagram
      Radiator Support
    • 1996 Saturn SC1 Trans Oil Cooler Lines Diagram
      Trans Oil Cooler Lines
  • Body & Hardware
    • 1996 Saturn SC1 Console Diagram
      Console
    • 1996 Saturn SC1 Cowl Panels Diagram
      Cowl Panels
    • 1996 Saturn SC1 Door & Components, Exterior Trim Diagram
      Door & Components, Exterior Trim
    • 1996 Saturn SC1 Fender & Components Diagram
      Fender & Components
    • 1996 Saturn SC1 Front Bumper Diagram
      Front Bumper
    • 1996 Saturn SC1 Front Door Diagram
      Front Door
    • 1996 Saturn SC1 Glass - Door Diagram
      Glass - Door
    • 1996 Saturn SC1 Hood & Components Diagram
      Hood & Components
    • 1996 Saturn SC1 Lock & Hardware Diagram
      Lock & Hardware
    • 1996 Saturn SC1 Quarter Panel & Components, Glass, Exterior Trim Diagram
      Quarter Panel & Components, Glass, Exterior Trim
    • 1996 Saturn SC1 Rear Bumper Diagram
      Rear Bumper
    • 1996 Saturn SC1 Seats & Track Components Diagram
      Seats & Track Components
  • Brakes
    • 1996 Saturn SC1 Brake Components Diagram
      Brake Components
    • 1996 Saturn SC1 Front Brakes Diagram
      Front Brakes
    • 1996 Saturn SC1 Rear Brakes Diagram
      Rear Brakes
  • Electrical
    • 1996 Saturn SC1 Cruise Control System Diagram
      Cruise Control System
    • 1996 Saturn SC1 Door & Components Diagram
      Door & Components
    • 1996 Saturn SC1 Front Door Diagram
      Front Door
    • 1996 Saturn SC1 Horn Diagram
      Horn
    • 1996 Saturn SC1 Ignition System Diagram
      Ignition System
    • 1996 Saturn SC1 Mirrors Diagram
      Mirrors
    • 1996 Saturn SC1 Powertrain Control Diagram
      Powertrain Control
    • 1996 Saturn SC1 Rear Door Diagram
      Rear Door
    • 1996 Saturn SC1 Senders Diagram
      Senders
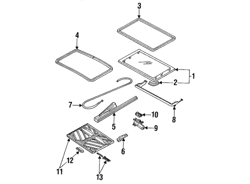
    • 1996 Saturn SC1 Sunroof Diagram
      Sunroof
    • 1996 Saturn SC1 Switches Diagram
      Switches
  • Emission Control & Exhaust
    • 1996 Saturn SC1 EGR System Diagram
      EGR System
    • 1996 Saturn SC1 Emission Components Diagram
      Emission Components
  • Headlights & Lighting
    • 1996 Saturn SC1 Backup Lamps Diagram
      Backup Lamps
    • 1996 Saturn SC1 Bulbs Diagram
      Bulbs
    • 1996 Saturn SC1 Fog Lamps Diagram
      Fog Lamps
    • 1996 Saturn SC1 Headlamps Diagram
      Headlamps
    • 1996 Saturn SC1 High Mount Lamps Diagram
      High Mount Lamps
    • 1996 Saturn SC1 License Lamps Diagram
      License Lamps
    • 1996 Saturn SC1 Rear Lamps Diagram
      Rear Lamps
    • 1996 Saturn SC1 Side Marker & Signal Lamps Diagram
      Side Marker & Signal Lamps
  • Interior & Exterior Trim
    • 1996 Saturn SC1 Exterior Trim - Pillars, Rocker & Floor Diagram
      Exterior Trim - Pillars, Rocker & Floor
    • 1996 Saturn SC1 Interior Trim - Pillars, Rocker & Floor Diagram
      Interior Trim - Pillars, Rocker & Floor
  • Maintenance & Lubrication
    • 1996 Saturn SC1 Automatic Transmission Diagram
      Automatic Transmission
    • 1996 Saturn SC1 Filters Diagram
      Filters
  • Steering
    • 1996 Saturn SC1 P/S Pump & Hoses, Steering Gear & Linkage Diagram
      P/S Pump & Hoses, Steering Gear & Linkage
    • 1996 Saturn SC1 Steering Column, Steering Wheel Diagram
      Steering Column, Steering Wheel
  • Suspension
    • 1996 Saturn SC1 Front Suspension Components, Lower Control Arm, Stabilizer Bar Diagram
      Front Suspension Components, Lower Control Arm, Stabilizer Bar
    • 1996 Saturn SC1 Wheels, Covers & Trim Diagram
      Wheels, Covers & Trim
  • Information
    • About Us
    • VIN Decoder
  • Customer Services
    • My Account
    • Track Order
    • Help Center
  • Links
    • GM Parts
    • Site Map
  • Contact Us
    • 3430 E Sunrise Drive Suite 180,
      Tucson, AZ 85718, United States.
    • Email Us
    • Live Chat
    • 1-888-860-1781
Flexible Payment Options: PayPal, Visa, MasterCard, Discover, American Express
Sectigo - Security (SSL Certificates) Provider
  • Sales Policy
  • Return Policy
  • Privacy Policy
  • Your Privacy Choice

© 2006-2026, ChevyPartsDeal.com by Genuine Parts Unlimited, Inc.